Современная судовая газотурбинная установка
СОДЕРЖАНИЕ: ВВЕДЕНИЕ КОНСТРУКТИВНЫЕ ОСОБЕННОСТИ ГТУ И ЕЕ ЭЛЕМЕНТОВ 1.1 Состав ГТУ 1.1.1.ГТУ в составе судовой энергетической установки 1.1.2 Газотурбинный двигатель 1.1.3 Передача 1.1.4 Общая компоновка ГТУ 1.1.4.1 Судовые ГТУ промышленного типа 1.1.4.2 Судовые ГТУ легкого типа 1.2 Редукторы 1.3 Средства реверса 1.3.1 Газовый реверс 1.3.2 Реверсивные передачи 1.3.3 Винт регулируемого шага 1.4. Средства и посты управления 1.5. Преимущества комбинированной установки Заключение
ВВЕДЕНИЕ. Современная судовая газотурбинная установка (ГТУ) успешно конкурирует с аналогичными по назначению паротурбинными и дизельными. От последних она выгодно отличается компактностью и малой удельной массой, маневренностью и высокой ремонтопригодностью, лучшей приспособленностью к автоматизации и дистанционному управлению. Газотурбинная установка может использоваться как всережимная и в сочетании с дизельными и паротурбинными. При эксплуатации ГТУ чувствительна к качеству подготовки топлива и масла, к изменению внешних условий (температура, чистота и давление атмосферного воздуха), ее надежность, как ни у какой другой установки зависит от точности выполнения всех эксплуатационных инструкций, а также от своевременности и правильности решений, принимаемых обслуживающим персоналом в непредусмотренных инструкциями ситуациях. Опыт эксплуатации судовых ГТУ показал, что от инженера-механика требуется не только знание и пунктуальное выполнение требований эксплуатационной документации, но и понимание физических, химических и других процессов, протекающих в работающих двигателях. Кроме того, при длительных плаваниях инженеру-механику часто необходим справочный материал, связанный с эксплуатацией ГТУ и отсутствующий в имеющейся на судне документации. КОНСТРУКТИВНЫЕ ОСОБЕННОСТИ ГТУ И ЕЕ ЭЛЕМЕНТОВ. Судовая энергетическая установка (СЭУ) служит для сообщения хода судну, а также для обеспечения всех судовых потребителей необходимыми видами энергии (тепловой, электрической и пр.). Судовые энергетические установки классифицируются как по роду используемого топлива (с органическим и ядерным топливом), так и по типу двигателя—двигатели внутреннего сгорания (ДВС), паротурбинные установки (ПТУ) и газотурбинные (ГТУ), а также комбинированные, состоящие из двигателей различных типов. Судовые ГТУ от других типов выгодно отличаются целым рядом показателей: малыми габаритами и удельной массой, более высокой маневренностью, высокой ремонтопригодностью, лучшей приспособленностью к автоматизации и дистанционному управлению. Одновременно ГТУ несколько уступают ДВС по экономичности и требуют более тщательного ухода, как во время работы, так и при бездействии. 1.1. Состав ГТУ ГТУ в составе судовой энергетической установки. В соответствии с назначением СЭУ весь комплекс ее механизмов и систем условно делят на четыре группы: — главную установку, предназначенную для обеспечения движения судна: — вспомогательную, обеспечивающую потребности судна в различных видах энергии на стоянке, при подготовке главной установки к действию и бытовые потребности судна; — электроэнергетическую, обеспечивающую судно различными видами электроэнергии; — механизмы и системы общесудового назначения. Газотурбинная установка может быть главной или се составной частью, может быть приводом электрических генераторов, различных механизмов общесудового назначения. В последних двух случаях ГТУ называют вспомогательной. Судовая энергетическая установка состоит из одного или нескольких комплексов двигатель-движитель, каждый из которых включает движитель, валопровод и одну главную установку. Главная установка в свою очередь состоит из одного или нескольких однотипных (в КУ, возможно, и разнотипных) двигателей и общей для них передачи, подводящей энергию к движителю через линию вала. Если двигатели главной установки газотурбинные, и она обеспечивает ход и маневрирование судна, ее называют газотурбинной всережимной. В комбинированной установке газотурбинная, как правило, является ускорительной (форсажной), обеспечивающей судну приращение скорости переднего хода. Газотурбинный двигатель. Газотурбинный двигатель—тепловая машина, предназначенная, для преобразования энергии сгорания топлива в механическую работу на валу двигателя. Основными элементами ГТД являются компрессор, камера сгорания и газовая турбина. Наибольшее распространение получили ГТД с непрерывным сгоранием топлива при постоянном давлении. На рис. 1.1 изображен теоретический простой цикл такого ГТД на диаграмме Т-S. Здесь 1—2— изоэнтропийный (адиабатический) процесс повышения давления воздуха в компрессоре; 2—3— изобарный подвод теплоты в КС; 3—4 — изоэнтропийный (адиабатический) процесс расширения газа в турбине; 4—1— изобарный отвод теплоты в атмосферу. Большая часть работы расширения газа в турбине расходуется на сжатие воздуха в компрессоре, остальная часть производимой турбиной ГТД работы обычно после преобразования передается к потребителю мощности и называется полезной работой. В так называемых сложных циклах ГТД, где можно получить более высокий КПД, или большую полезную работу, предусматривается либо промежуточное охлаждение воздуха (например, между компрессорами или их ступенями), либо вторичный подогрев газов (в дополнительных КС между турбинами), либо регенерация, т.е. использование теплоты выходящих из турбин газов для предварительного подогрева сжатого воздуха, либо любое возможное сочетание названных средств. Двигатели, выполненные по сложному циклу, имеют большие массы и габариты по сравнению с ГТД простого цикла, менее маневренны, менее надежны, весьма сложны. Существенный недостаток ГТД простого цикла-относительно низкая экономичность-может быть устранен согласованным увеличением степени повышения давления воздуха Лк в компрессоре ГТД и температуры газа Тоз на входе в первую турбину ГТД (на выходе газа из КС), что наглядно подтверждается зависимостью КПД ГТУ от Лк при различных отношениях Тоз/То: здесь Тоз-абсолютная температура газа на выходе из КС в полных параметрах; То-абсолютная температура воздуха на входе в ГТУ. Максимальное значение КПД при реально достижимой в настоящее время температуре Тоз=1000°С имеет место при Лк=16-21. Данную Лк можно осуществить в многоступенчатом осевом компрессоре; при этом в составе ГТД могут быть два последовательно установленных компрессора, каждый из которых приводится от отдельной турбины, или один компрессор, устойчивость режимов работы которого повышается вследствие применения поворотных лопаток спрямляющих аппаратов на ряде первых ступеней. При этом возможно применение дополнительных устройств, обеспечивающих устойчивость работы компрессоров, особенно на переходных режимах: лент перепуска воздуха, антипомпажных клапанов и т.д. Собственно газовыми турбинами являются ТВД, ТНД. ТВ ; совокупность КНД, ТНД , и соединяющего их вала образует турбокомпрессорный блок низкого давления (ТКНД); совокупность КВД, ТВД и соединяющих их конструкций—турбокомпрессорный блок высокого давления (ТКВД): часть ГТД, включающую ТКНД, ТКВД и КС, часто называют генератором газа (ГГ). Таким образом, ГТД можно рассматривать как совокупность генератора газа и пропульсивнои турбины. Передача Оптимальные условия работы гребного винта и пропульспвной турбины ГТД обеспечиваются обычно при различных частотах вращения. Для достижения приемлемых экономичности, масс и габаритов частота вращения ротора пропульсивной турбины должна быть значительно выше, чем гребного винта. Снижение частоты вращения осуществляется в передаче при обязательном требовании минимальных потерь мощности. Передача может выполнять и другие функции, в частности “собирать” мощности нескольких двигателей на один движитель, “раздавать” мощность теплового двигателя на несколько движителей, разобщать двигатели от движителей, осуществлять реверс и т. д. Различают передачи механические, гидравлические, электрические. Последняя может работать на переменном и постоянном токе. В первом случае потери энергии в передаче составляют 6— 14%, во втором—11—19%. Для электропередач характерны большие массы и габариты: так, приходящаяся на 1 кВт масса электропередачи составляет 7—22 кг. Несомненны преимущества электропередач: — возможность использования нереверсивного главного двигателя; — удобство управления установкой; — уменьшение длины гребных валов; — отсутствие жесткой связи между главным двигателем и винтом и т. д. Чисто гидравлическая передача имеет относительно малый КПД: 95—96 и 85—88 % — соответственно гидромуфты и гидротрансформатора переднего хода, 70—75 % —гидротрансформатора заднего хода. По этой причине их предпочитают применять в сочетании с механической передачей. Механическая (обычно зубчатая) передача имеет высокий КПД (до 98—99 % ) и находит преимущественное применение на судах . Общая компоновка ГТУ. На судах применяют ГТУ двух основных типов: с ГТД промышленного (тяжелого) типа; с ГТД авиационного (легкого) типа. Компоновочные схемы этих ГТУ могут существенно отличаться. Для ГТУ второго типа характерно выполнение ГТД в рамном или безрамном варианте, с трубчатым основанием, в звукоизолирующем кожухе. Максимально возможная часть систем, обеспечивающих работу ГТД, смонтирована на нем или в его раме; основные вспомогательные механизмы (например, основные топливный и масляный насосы) навешены на ГТД и приводятся от блока его вращения, в наименьшей степени изменяющего частоту вращения при переходе ГТД с режима на режим. На редукторе ГТУ также смонтированы обеспечивающие его работу системы и механизмы (например, навесные маслонасосы). Связь ГТД с редуктором осуществляется посредством рессор. Системы ГТУ включают комплексы разнообразных технических средств, при помощи которых могут быть осуществлены все эксплуатационные режимы работы установки, а также ее техническое обслуживание. Условно их можно разделить на две группы. Первая группа—это комплексы технических средств, которые позволяют управлять установкой, т. е. задавать и поддерживать необходимые режимы се работы и изменять эти режимы при необходимости. К ним относятся системы: - управления, воздействующая на подачу топлива в КС, на системы пуска и реверса и другие системы, обеспечивающие поддержание и изменение режима работы; - пуска, с помощью которой ГТУ вводится в действие; - реверса, обеспечивающая изменение направления упора, создаваемого гребным винтом или другим движителем. Ко второй группе относятся следующие системы, обеспечивающие оптимальные условия для работы ГТУ: - топливная, состоящая из технических средств, размещенных на ГТД, а также вне двигателя; -масляная с техническими средствами на ГТД, передаче (редукторе) и вне их; -охлаждения забортной водой, размещенная обычно вне ГТУ и предназначенная для охлаждения масла ГТУ в маслоохладителях; - сжатого воздуха, технические средства которой размещены как на ГТУ, так и вне установки; - промывки проточной части; - антиобледенительная (система обогрева входного устройства ГТД) и ряд других. Кроме того, работа ГТД на судне обеспечивается воздухоприемным и газовыпускным устройствами, системой теплоизоляции ГТД. Основные характеристики судов с ГТУ приведены в табл. 1.1, а показатели ГТУ - в табл. 1.2 (по отечественным и иностранным литературным источникам). Таблица 1. 1. Основные характеристики судов с ГТУ.
Таблица 1.2 Основные характеристики ГТУ
1.1.4.1. Судовые ГТУ промышленного типа. Примером названных установок может служить ГТУ-20 судна “Парижская коммуна”. Она состоит из двух одинаковых установок ГТУ-10, работающих через общий редуктор на один ВРШ. Особенностью ГТУ-20 является блокированная ТНД, что потребовало установки ВРШ. Установки промышленного типа МS-1000, МS-3000, МS-5000, МS-7000 и их модификации фирмы “Дженерал электрик” конвертированы в судовые из стационарных ГТУ. Все они работают но открытому циклу с регенерацией теплоты уходящих газов для подогрева воздуха. Особенностью ГТУ М5-3012К является привод генератора переменного тока от ТНД и постоянная частота их вращения. Главный электродвигатель (ГЭД) переменного тока с постоянной частотой вращения приводит в действие ВРШ. Установка М5-3012К со всеми обслуживающими механизмами и системами расположена на верхней палубе судна, а ГЭД — в машинном отделении. Некоторые данные о судовых ГТД промышленного типа приведены в табл. 1.3.
Таблица1.3. Характеристики судовых ГТД типа МS.
1.1.4.2. Судовые ГТУ легкого типа.
На судах такие ГТУ нашли применение в следующем исполнении: - с одним компрессором и одной турбиной (блокированная, рис. 1.6, а); - с одним турбокомпрессором и свободной ТВ (рис. 1.6, б); — с двумя турбокомпрессорами и свободной ТВ (см. рис. 1.2). Были проведены большие работы по конвертированию авиационных ГТД для использования их на судах: в СССР — ГТУ М-25. В США были созданы ГТД типов: LМ-100, LМ-300, LМ-1500, LМ-2500, LМ-5000, FТ-4А, FТ-4А12, FТ-4С-2 и др.; в Англия - типов “Олимп”, “Тайн”, “Гном” и др. Некоторые данные о судовых ГТД авиационного типа приведены в табл. 1.4.
Табл.1.4. Характеристики зарубежных судовых ГТД.
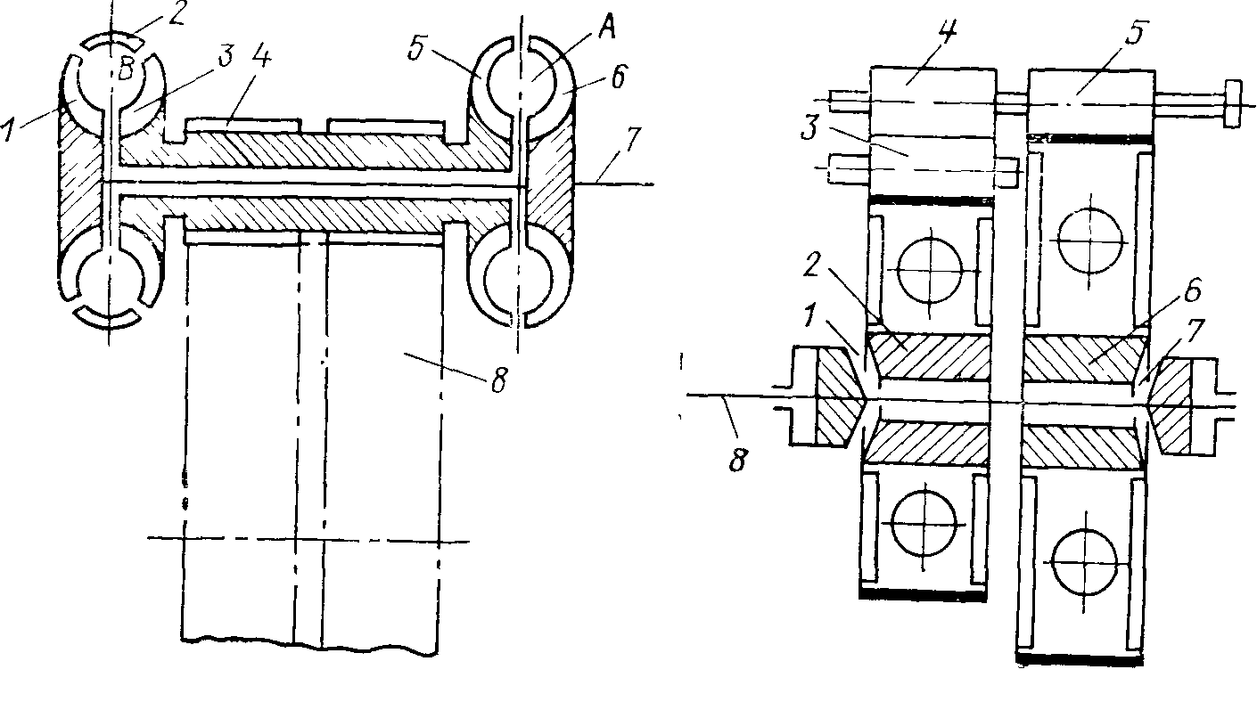
1.2. Редукторы Редукторы обладают рядом преимуществ перед другими типами передач: меньшие масса и габариты, более высокий КПД, простота устройства, сравнительно меньшая стоимость, большая долговечность, высокая безотказность и т. д. По назначению различают редукторы главные и вспомогательные; по конструкции — переборные, планетарные и комбинированные, по направлению вращения—реверсивные и нереверсивные; по виду зубчатых колес—цилиндрические и конические; по числу зубчатых пар— одно- и многоступенчатые; по расположению осей валов—горизонтальные и вертикальные; по типу передач — цепные, гнездовые и с раздвоением мощности. Примером двухступенчатого редуктора с раздвоением мощности является редуктор главного газотурбинного агрегата М-25 судов типа “Атлантика”. В 1-й ступени мощность ГТД через шестерню Z1 передается на две шестерни Z2. На 2-й ступени от каждой шестерни Z3, приводимой от Z2, мощность передается на две шестерни Z4, от них—на главное колесо редуктора Z5 и далее—на ВФШ. Редуктор установки М-25—переборный, реверсивный, с цилиндрическими зубчатыми колесами, с горизонтальным расположением валов; редуктор установки ГТУ-20—также переборный, с цилиндрическими зубчатыми колесами, двухступенчатый, с горизонтальным расположением валов, но нереверсивный, с цепным типом передачи. Редуктор судовой ГТУ средней мощности с ГТД GТРЕ-990 выполнен планетарным. Планетарные редукторы в основном устанавливаются на КВП и СПК. Для комбинированных установок наиболее характерны редукторы, собирающие мощности от нескольких двигателей, в том числе и разнотипных и разной мощности, а также раздающие мощность двигателей различным нескольким потребителям. Для этих же установок характерны операции подключения и отключения двигателей с помощью гидравлических и специальных механических разобщительных муфт. Наиболее простой, но достаточно распространенной муфтой такого назначения является автоматическая механическая с обгонным устройством .В редукторах широко используются так называемые самосинхронизирующие муфты, конструкция которых представляет собой сочетание фрикционной и зубчатой муфт. Первая служит для синхронизации валов и создания тем самым условий для включения зубчатой муфты, которая способна продолжительное время передавать основной крутящий момент. 1.3. Средства реверса Упор винта на переднем ходу называют положительным, на заднем—отрицательным. Отрицательный упор применяют в эксплуатации для движения судна задним ходом, торможения и остановки судна, идущего передним ходом, для стаскивания судна с мели и т. п. Реверсом называют маневр, связанный с изменением направления упора, создаваемого гребным винтом. Осуществляют реверс с помощью одного из трех элементов пропульспвного комплекса: -силовая турбина—передача—движитель, который в этом случае называют реверсивным. 1.3.1. Газовый реверс. При использовании реверсивной силовой турбины реверс называют газовым, а ГТД—реверсивным. В соответствии с требованиями к проектированию судовых установок мощность на заднем ходу должна составлять примерно 40—50 % мощности переднего хода. Конструктивно турбина заднего хода может быть выполнена в виде : а) отдельной турбинной ступени, расположенной на диске, жестко связанном с ротором турбины переднего хода; б) отдельной турбины, передающей крутящий момент на редуктор через собственный вал (рессору); в) верхнего (нижнего) яруса лопаток, расположенного над (под) ярусом лопаток одной из ступеней переднего хода. В конструкциях (а) и (б) существенно возрастают массогабаритные показатели ГТД, возникает необходимость в создании надежных закрытий в газовых каналах, а в случае “б”, кроме того, нарушается принцип прямоточности ГТД. В случае применения радиальной реверсивной турбины возникают трудности компоновки проточных частей турбин, состоящих из нескольких последовательно расположенных центростремительных турбин, а также затруднения, связанные с конструктивным сочетанием в одной проточной части осевых и радиальных ступеней . Газовый реверс с использованием двухъярусного облопачивания реверсивной турбины может быть выполнен по схеме, разработанной и испытанной фирмой “Дженерал электрик” для судовых ГТУ промышленного типа третьего поколения (рис. 1.4). На рисунке показаны направления движения газов и положения органов реверсивных устройств ГТУ. Специальные дефлекторы, расположенные за реверсивной ступенью, образуют на переднем ходу канал для прохода отработавших газов из рабочей решетки верхнего яруса в выпускной диффузор, обеспечивая тем самым уменьшение протечек газа в ступень заднего хода и снижение вентиляционных потерь. При работе на заднем ходу дефлекторы перемещаются в положение, при котором образуется канал для прохода отработавших газов из рабочей решетки заднего хода в выпускной диффузор. Существенный недостаток ГТУ с газовым реверсом - потери мощности, достигающие 4—5%, что вызвано увеличенным сопротивлением вращению неработающих ступеней рабочего тела, имеющего весьма высокую плотность (например, по сравнению с ПТУ, в которой неработающие ступени располагают в зоне вакуума).
Рис. Схема течения газов в реверсивной турбине с двухъярусным облопачиванием: а—при работе на переднем ходу; б—при работе на заднем ходу. /—механизм поворота сопловых лопаток; 2 —сопловые лопатки ПХ; 3 —сопловые лопатки ЗХ; 4 — газовыпускной диффузор; 5—дефлекторы; 6 — рабочие лопатки ЗХ; 7—рабочие лопатки ПХ; 8 —газовый канал ЗХ; 9 —газовый канал ПХ; 10 —разделитель газового потока; 11 — рабочие лопатки предыдущей турбины. 1.3.2. Реверсивные передачи Конструкция реверсивной передачи позволяет изменить направление вращения выходного (соединенного с винтом) вала передачи при неизменном направлении вращения входного (соединенного с ГТД) вала. Реверсивные передачи могут быть электрическими, гидравлическими и механическими. Электрический реверс применяют на судах с электродвижением. Его недостатки и достоинства определяются недостатками и достоинствами электрических машин, применяемых на судах для обеспечения хода судна. Гидрореверсивная передача, изображенная на рис., включает в свой состав гидромуфту и гидротрансформатор. В данной схеме продолжительный передний ход осуществляется передачей крутящего момента от вала 7 на шестерню 4 непосредственно через фрикционную или кулачковую муфту (на рис. 1.5 не показана ), а внутренняя полость гидромуфты может быть либо заполненной рабочей жидкостью, либо опорожненной. Для перехода на задний ход нужно заполнить рабочей жидкостью гидромуфту,
разобщить жесткую муфту, заполнить рабочей жидкостью полость В гидротрансформатора, опорожнить рабочую полость А гидромуфты. Недостаток этой передачи—низкий КПД гидротрансформатора (0,85—0,87). Механическая реверсивная передача может быть выполнена по схеме, представленной на рис. 1.5. Принцип действия реверсивного редуктора основан на применении двойного комплекта ведущих шестерен и ведомых колес, расположенных между входным и выходным валами редуктора. Так, при движении судна передним ходом крутящий момент от ГТД передается через шестерню 5 колесу 6 и далее — через включенный фрикцион переднего хода 7—на выходной вал редуктора 8. При движении судна задним ходом крутящий момент от ГТД передается на шестерню 4, паразитную шестерню 3, колесо заднего хода 2 и далее через включенный фрикцион заднего хода 1 на выходной вал редуктора 8. 1.3.3. Винт регулируемого шага Реверс посредством ВРШ осуществляется перекладкой лопастей винта при помощи механизма изменения шага (МИШ) из положения ПХ в положение ЗХ, или наоборот. Механизм изменения шага расположен в ступице ВРШ, в связи с чем его диаметр по сравнению с ВФШ несколько увеличен. Тяги, воздействующие на МИШ, размещены внутри пустотелого гребного вала и управляются гидроприводами. 1.4. Средства и посты управления Автоматизация управления ГТУ осуществляется с использованием топливной системы ГТД, с помощью которой подается топливо при пуске, изменяется режим работы, выполняется остановка. Отключением подачи топлива в КС осуществляется аварийная защита ГТД. Конструкцией системы предусматривается, чтобы фактическое изменение подачи топлива в камеру сгорания ГТД не приводило к опасному повышению температуры газа, появлению неустойчивых режимов работы и другим негативным последствиям. Обслуживающие ГТУ автономные вспомогательные механизмы представляют собой автоматизированные агрегаты, которые могут дистанционно принимать команды на пуск, изменение режима, остановку и которые имеют собственные защитные и прочие устройства. Кроме механизмов в состав ГТУ входит разнообразная автоматическая арматура, например устройства отключения линий всасывания и нагнетания резервных насосов, свечи зажигания и пусковые форсунки, приводы органов реверса и антипомпажных устройств и так далее. Система управления ГТУ включает совокупность устройств, дающих командные сигналы на включение и отключение нагрузки части двигателей установки, на разворот лопастей ВРШ и т. п. Управление ГТУ и ее обслуживание невозможно без различных средств контроля параметров и сигнализации о положении органов управления, таких как панели контрольно-измерительных приборов, панели сигнализации в виде мнемосхемы или сигнальных ламп, а на высокоавтоматизированных судах—системы централизованного контроля (информационно-измерительные). Централизованная система управления представляет собой пульт с рукоятками и кнопками, посредством которых осуществляется любой из предусмотренных режимов работы ГТУ и всего силового' комплекса судна. Она может быть электрической, гидравлической, комбинированной и т. д. На высокоавтоматизированном судне в системе управления могут быть использованы ЭВМ, которые вырабатывают по данным измерений управляющие сигналы, облегчающие работу оператора . Автоматические устройства, обеспечивающие управление главной установкой, обычно размещаются в центральном, запасном (аварийном) постах управления, в ходовой рубке судна или на капитанском мостике. Средства управления и контроля скомпонованы в пульты управления, панели сигнализации и КИПов, в блоки управления, размещенные в отдельных шкафах. Одновременное управление из разных постов исключается. Узлы переключения постов управления обычно предусматривают принудительную передачу управления любому посту или произвольное взятие управления “на себя” из любого поста, причем запасной пост получает на это право по разрешающему сигналу из центрального поста. Запасной пост управления обычно размещается вблизи ГТУ. Количество информации о состоянии ГТУ и всего силового комплекса судна неодинаково на разных постах, в частности в ходовой рубке информация ограничивается сведениями, необходимыми капитану для принятия решения об использовании ГТУ. Наибольший объем информации поступает в ЦПУ.
1.5. Преимущества комбинированной установки Комбинированная главная установка включает в свой состав разнотипные главные двигатели, которые могут быть термодинамически связанными друг с другом или термодинамически независимыми. Преимущества КУ обычно определяются характером использования судна и его главной установки, а также особенностями главных двигателей различных типов. Характер использования судов некоторых типов определяет их плавание преимущественно на скоростях, меньших полной. Так, китобойные и рыболовные траулеры, ледоколы, транспортные суда активного ледового плавания не все ходовое время эксплуатируются на полной скорости, чему препятствует ледовая обстановка или иные решаемые судном задачи. В связи с примерно кубической зависимостью эффективной мощности установки от скорости водоизмещающего судна и ухудшением экономичности ГТУ при отклонении от расчетного режима желательно на скоростях, меньших полной, применять специальный двигатель, относительно маломощный с высокими экономичностью и долговечностью. Таким требованиям в наибольшей степени отвечает ДВС, не исключено применение и других типов двигателей. Полный ход можно быстро развить с помощью двигателя (установки), который кроме высокой маневренности должен быть весьма мощным с относительно малой долговечностью (что позволяет выполнить его легким и малогабаритным). Такому требованию наиболее полно отвечает ГТУ, которая к тому же относительно проста в обслуживании. ЗАКЛЮЧЕНИЕ. Из рассмотренных выше материалов видно, что судовые газотурбинные установки, обладая определенными преимуществами перед другими типами, в тоже время обладают очень существенным недостатком-низкой экономичностью. В сочетании с малыми массогабаритными показателями, высокой приемистостью, быстрой подготовкой к пуску, высокой степенью готовности к приему нагрузки это предопределило использование газотурбинных двигателей на военных кораблях. Первые ГТД в качестве опытных начали устанавливать на кораблях советского ВМФ на рубеже 40-50 годов. Однако эти двигатели обладали крайне малым ресурсом и были крайне ненадежны в эксплуатации. Первыми серийными комбинированными дизель-газотурбинными установками были ДГТУ типа Д2 и Д2М. Д2 включали в свой состав 2 ГТД типа Д54 и 2 дизеля М504 и устанавливались на малых противолодочных кораблях проекта 204, Д2М-2 таких же ГТД и 2 дизеля типа 58 и устанавливались на сторожевых кораблях проекта 35. Недостатком этих кораблей была высокая взрывопожароопасность из-за крайне неудачного расположения газотурбинных двигателей в кормовом отсеке. В конце 50-х годов была создана установка типа М2, которая включала в свой состав 2 ГТД, работающих на бортовые валы и дизель, работающий на средний вал на ВРШ. Эта установка была спроектирована для сторожевого корабля проекта 159 и показала высокие эксплуатационные качества. Эти корабли строились более 15 лет и находились в составе флота до середины 90-х годов. Всего было построено около 50 таких кораблей, из них более 20-на экспорт. В начале 60-х годов был построен первый в мире полностью газотурбинный корабль – большой противолодочный проекта 61 с двухвальной установкой М3. М3 включала в свой состав 4 ГТД типа ДЕ59(по 2 на каждый вал) и 2 реверсивных редуктора с гидромуфтами. Общая мощность установки составляла 72000 л.с., и для своего времени это был настоящий прорыв для газотурбинных установок. В конце 60-х годов были запущены в серию следующие типы установок: -2-х вальная М5 для большого противолодочного корабля проекта 1134Б, на каждый вал работал 1 маршевый и 2 форсажных ГТД, общая мощность 86000 л.с., впервые в мировой практике применен газовый реверс; -2-х вальная М7 для сторожевого корабля проекта 1135, на каждый вал работал 1 МД и 1ФД, общая мощность-58000 л.с., газовый реверс. Особенностью этой установки являлось применение маршевой редукторной приставки, специального редуктора, установленного между редукторами маршевых двигателей, который позволял при работе 1МД распределять мощность на оба вала. Установка М7 оказалась настолько конструктивно удачной, что с некоторыми изменениями ее применили на БПК проекта 1155 и СКР проекта 1154, ПСКР проекта 11351, которые на настоящий момент составляют основу противолодочных сил Российского ВМФ. -3-х вальная комбинированная М8 для малого противолодочного корабля проекта 1124, на бортовые валы работали дизеля типа М507 по 10000 л.с. с реверсивной главной передачей, на средний вал-нереверсивный ГТД ДЕ59 мощностью 18000 л.с. Ход этого корабля достигал 38 узлов. Всего было построено более 80 различных модификаций кораблей этого проекта; -2-х вальная для ракетного крейсера проекта 1164, на каждый вал работал 1 МД с теплоутилизационным контуром, 2 ФД и паровая турбина, получающая пар от ТУК. Общая мощность – 110000 л.с., на сегодняшний день это самая мощная ГТУ; -было создано много различных типов облегченных установок для кораблей на воздушной подушке, кораблей на подводных крыльях и кораблей с глиссирующими и полуглиссирующими корпусами. Для данных кораблей газотурбинные установки являются наиболее предпочтительными из-за своих массогабаритных показателей; -были созданы ГТД чисто авиационного типа для экранопланов; -были созданы газотурбогенераторы для выработки электроэнергии-типа ГТУ6А-мощностью 600 кВт и ГТУ12,5 мощностью 1250 кВт. Газовые турбины являются весьма перспективными судовыми двигателями. Главный их недостаток-низкая экономичность успешно преодолевается за счет повышения температуры выходящих газов. Так в двигателе ДС71 удельный расход топлива на 2-ом форсированном режиме составляет 203 г/л.с.*час,что уже вполне сравнимо с экономичностью дизелей. Несомненно, что в будущем, с появлением новых жаропрочных сплавов, композитных материалов (что позволит значительно повысить ТВГ), газотурбинные установки несколько потеснят традиционные двигатели на судах. В ВМФ, пограничной службе, особенно на кораблях быстрого реагирования (противолодочные, сторожевые, КВП, СПК), газотурбинные установки на сегодняшний день не имеют альтернативы.
Список использованных источников:
Поделитесь этой записью или добавьте в закладки |
Полезные публикации | ||||||||||||||||||||||||||||||||||||||||||||||||||||||||||||||||||||||||||||||||||||||||||||||||||||||||||||||||||||||||||||||||||||||||||||||||||||||||||||||||||||||||||||||||||||||||||||||||||||||||||||||||||||||||||||||||||||||||||||||||||||||||||||||||||||||||||||||||||||||||||||||||||||||||||||||||||||||||||||||||||||||||||||||||||||||||||||||||||||||||||||||||||||||||||||||||||||||||||||||||||||||||||||||||||||||||||||||||||||||||||||||||||||||||||||||||||||||||||||||||||||||||||||||||||||||||||||||||||||||||||||||||||||||||||||||||||||||||||||||||||||||||||||||||||||||||
Главная