Хемотроника
Новое научно-техническое направление - хемотроника возникло из электрохимии и электроники. Суть ее состоит в использовании явлений, связанных с прохождением тока в жидких телах с ионной проводимостью для построения разнообразных электрохимических приборов. Опыт показывает, что системы на основе твердых тел во многом уступают жидкостным. Основные достоинства электролитических приборов таковы:
Сейчас существует великое множество хемотронных устройств и приборов: точечные и плоскостные электрохимические диоды и транзисторы, управляемые сопротивления, интеграторы, блоки памяти ЭВМ, каскады усиления постоянного тока и др. В настоящее время из разнообразных технических средств хемотроники наиболее широкое распространение получили управляемые сопротивления и запоминающие устройства. Рассмотрим принципы их работы. Электрохимическое управляемое сопротивление иногда называют мимистором (рис. 1) Оно работает за счет изменения сопротивления проводника в результате катодного осаждения на него металла или анодного растворения. Устройство мимистора, работающего с использованием медного электролита таково: стеклянный корпус 4 заполнен электролитом 1 (как правило сульфид меди + серная кислота + этанол). На одной из стенок гальванической ванны нанесена электропроводящая подложка 6 , имеющая выводы 7 и 5 , расположенные вне этой герметично закрытой ванны. Электрод 2 омывается электролитом. От него имеется вывод 3 . Принцип работы устройства: входные сигналы подаются на электропроводящую подложку 6 и электрод 2 . В зависимости от полярности входных сигналов, на подложке 6 медь будет или гальванически осаждаться, или анодно растворяться. Тем самым будет изменяться электрическое сопротивление медной пленки, находящейся на подложке 6 . Воспроизведение величины изменяющегося сопротивления обычно производят с помощью мостовых измерительных схем.
Рис. 1 Такие приборы имеют диапазон изменения сопротивления 0...1000 Ом, диапазон токов управления 0,05...1 мА, потребляемую мощность управления 10 -3 ...10 -6 Вт, объем 0,2...0,4 см 3 , массу - несколько граммов. Они могут работать при температурах - 15...+ 100 ° С, устойчивы к ударным нагрузкам и вибрации. Благодаря этим качествам мимисторы находят применение для создания реле времени, счетчиков импульсов, интегрирующих устройств, самонастраивающихся систем автоматики и т. п. Они также являются весьма перспективными приборами для использования в вычислительной и измерительной технике.
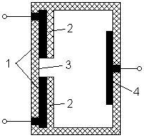
Рис. 2 поможет разобраться в принципе действия хемотронной ячейки памяти. Два пластинчатых электрода 1 из золота или платины расположены в герметичном пластмассовом корпусе. Электроды с внутренней стороны изолированны эпоксидным покрытием 2 , за исключением узкого зазора 3 , ширина которого не должна превышать 0,1 мм. На противоположной стенке ячейки напротив зазора расположен медный электрод 4 . Расстояние между этим электродом и пластинчатыми электродами 1 составляет примерно 0,5 мм. Сопротивление между электродами 1 зависит от наличия раствора электролита в зазоре 3 . Если зазор заполнен раствором, то это сопротивление велико. При подаче на электроды 1 напряжения, отрицательного относительно электрода 4 , последний начинает растворяться, и в зазоре 3 происходит отложение меди. Через некоторое время (время записи) зазор между электродами 1 будет замкнут осажденной медью и сопротивление между ними резко снизится из-за высокой проводимости меди. Если же на электроды 1 подать напряжение, положительное относительно электрода 4 , то осажденная в зазоре медь растворяется и ячейка возвращается в прежнее состояние, характеризуемое высоким сопротивлением между электродами 1 . Таким образом, ячейка имеет два устойчивых состояния, позволяющих записывать информацию в двоичном коде. С помощью несложной схемы коммутации на трехпозиционном переключателе можно осуществить три вида операций - записи, воспроизведения и стирания.
Рис. 2
Общность механизма работы хемотронных приборов и электрохимических механизмов восприятия, преобразования и хранения информации в сложнейших системах живых организмов (в том числе и в нейронах человеческого мозга) позволяет рассчитывать на создание в будущем на жидкостной основе биопреобразователей информации - своеобразных моделей человеческого интеллекта.
Литература: Б. С. Гершунский. Основы электроники и микроэлектроники. Киев, ВШ, 1989г. Поделитесь этой записью или добавьте в закладки |
Полезные публикации |
Главная