Кинематический анализ и расчёт станка 1П 365, расчёт метчика и расчёт призматического фасонного резца
СОДЕРЖАНИЕ Введение 1. Расчёт метчика 2. Расчёт фасонного призматического резца
1. Вычерчивание кинематической схемы станка 2. Общая характеристика станка 3. Составление кинематического уравнения 4. Построение графика частот оборотов 5. Анализ картины частот оборотов 6. Построение лучевой диаграммы скоростей 7. Изучение кинематики механизмов подач 8. Описание вспомогательных движений и механизмов Заключение Список использованных источников
ЗАДАНИЕ НА КУРСОВУЮ РАБОТУВ данной работе требуется произвести расчет металлорежущего станка 1П 365, вычертить график частот оборотов и лучевую диаграмму, а также рассчитать инструменты, необходимые для обработки детали, представленной в задании и выполнить рабочие чертежи этих инструментов на листах формата А4 или А3.
ВВЕДЕНИЕДанная работа выполняется с целью приобретения практических навыков по следующим категориям: назначению режимов резания, выбору режущих материалов, подбору и конструированию высокопроизводительных инструментов, освоение методики анализа кинематики металлорежущих станков и способов их настройки, приобретение опыта по работе с техникой и литературой. Работа выполнена по этапам:
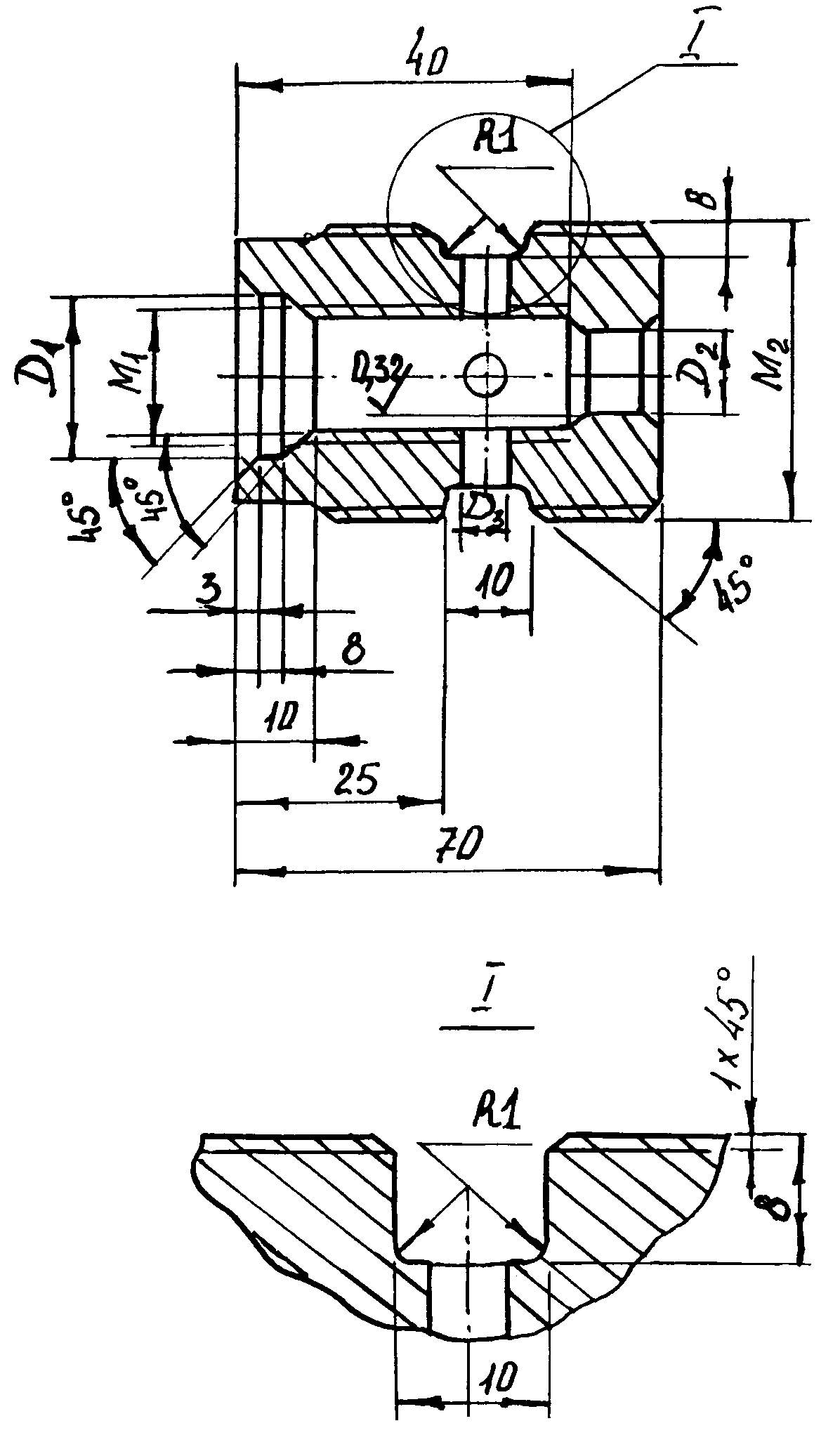
М27 – 8g
dнар. = 27 мм; dcр. = 25.051мм; dвн. = 23.752мм d2 = 26.8мм
Рисунок 1. где t2 – высота резьбы, z – число перьев метчика, s - коэффициент, равный отношению толщины стружки к
Величина коэффициентов s приводится в таблицах и для нашего случая s = 0.018. 3. Число перьев у метчиков тоже выбирается по таблице, в зависимости от диаметра и назначения метчика и равно: z = 4. 4. Высоту резьбы можно определить по следующей формуле:
Следовательно длина l1 заборной части будет равна:
d0 – наружний диаметр, d2 – диаметр заборной части в переднем торцевом сечении метчика. По справочным данным выбираем f = 6. 6. Ширина пера f = 0.25d0 для четырёхканавочных метчиков, она равна f = 6.75. 7. Для четырёхканавочных метчиков диаметр сердцевины равен D1 = 1.3 + 0.45d0 и равен D1 = 13.45 мм. 8. Передний угол g выбирается по таблице, в зависимости от свойств обрабатываемого материала. Для стали средней твёрдости g = 8…10. Следовотельно g = 10. 9. Главный задний угол a на заборной части принимается по таблице, в зависимости от типа метчика. Метчик ручной по этому a выбираем равным 8. Задний угол на калибрующей части a1 у метчиков со шлифованым профилем делается за счёт уменьшения диаметра резьбы на 0.02…0.05 мм. 10. Вечилина затылования определяется по формуле:
где d1 – внутренний диаметр резьбы метчика, z –число его перьев, a – задний угол. Следовательно:
11. Стандартные метчики изготавливаются с прямыми канавками. Специальные метчики для улучшенного отвода стружки иногда снабжаются винтовыми канавками.Угол наклона винтовых канавок равен w = 8…15. При сквозных отверстий рекомендуется левое направление винтовых канавок. При нарезании сквозных отверстий лучшего отвода стружки можно достигнуть и путём создания наклона передней поверхности метчика на его заборной части под углом l = 5…10, такая заточка обеспечивает отвод стружки в направлении подачи метчика. 12. Для снижения величины силы трения между метчиком и нарезаемой резьбой калибрующая часть метчика выполняется с обратной конусностью. Уменьшение диаметра по направлению к хвостовику составляет 0.05…0.1 мм на 100 мм длины.
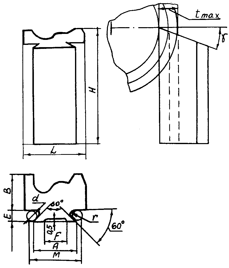
Рисунок 2. 2. Для образования задних углов a тело призматического фасонного резца наклоняют так, чтобы прямолинейная образующая фасонной задней поверхности резца в точке 1 образовала угол a с плоскостью резания в той же точке. 3. Целью коррекционных расчётов призматических фасонных резцов является вычисление расстояния от прямолинейной образующей точки 1 до параллельных ей образующих задней поверхности резца, проведённых через контурные точки 2, 3, 4, 5, 6, 7, 8, т.е. величин Р2, Р3, Р4, Р5, Р6, Р7, Р8. Из узловых точек опускаем перпендикуляры на прямолинейную образующую узловой точки 1. Получаем ряд прямоугольных треугольников. Известные из общей части коррекционного расчёта расстояния: С2-6, С3-7, С4-8 являются гипотенузами. 4. Осевые размеры между узловыми точками детали и резца равны. Для нашего случая tмах = 8мм, и следовательно по данным из таблицы выбираются конструктивные размеры призматического резца:(Рис. 3) В = 14, Н = 75, Е = 6, А = 20, F = 10, r = 0.5,
Рисунок 3. 5. Построение шаблонов и контршаблонов для контроля фасонного профиля призматического резца полностью определяется координатными расстояниями Р2 – Р8. Допуски на точность изготовления заданных чертежом линейных размеров фасонного профиля шаблона составляет +,- 0.01мм. 6. Из рекомендации по выбору геометрии лезвия фасонного резца: задний угол a = 10, и в зависимости от материала заготовки и материала самого резца выбираем g = 20. 7. Далее составляем и решаем следующие уравнения:
КИНЕМАТИЧЕСКИЙ АНАЛИЗ МЕТАЛЛОРЕЖУЩЕГО СТАНКА 1П 365. Кинематический анализ включает следующие этапы: 1. Вычерчивание кинематической схемы станка. 2. Общая характеристика станка. 3. Составление кинематического уравнения. 4. Построение графика частот оборотов. 5. Анализ картины частот оборотов. 6. Построение лучевой диаграммы скоростей. 7. Изучение кинематики механизмов подач. 8. Описание вспомогательных движений и механизмов.
Номера валов обозначаются римскими цифрами, числа зубцов шестерён и колёс – арабскими. Основными узлами станка являются: Станина – 1. Коробка подач – 2. Передняя бабка с коробкой скоростей – 3. Шпиндель – 4. Боковой суппорт – 5. Продольный суппорт с револьверной головкой – 6. Барабан упоров – 7. Фартуки продольного и бокового суппортов – 8, 9. Токарно-револьверный станок 1П 365 предназначен для обработки деталей из штучных заготовок диаметром до 500 мм и из прутка диаметром до 80 мм. Изготовление деталей связано с выполнением ряда последовательных переходов: обтачивания, сверления, растачивания, развёртывания, отрезки и др. – в условиях серийного производства. Основные узлы станка приведены в Приложении 3. Принцип работы и движения в станке: обрабатываемая деталь закрепляется в обычном самоцентрирующем или пневматическом патроне, установленном на шпинделе станка. В процессе обработки деталь вращается (главное движение). Весь необходимый для данной операции комплект режущих инструментов устанавливается в шестипозиционной револьверной головке продольного суппорта и четырёхпозиционном резцедержателе бокового суппорта. Инструменты совершают движения подачи в продольном или поперечном направлениях. Обработка может производиться от обоих суппортов одновременно с заданными подачами. Ограничение движения суппортов и автоматическое выключение подач осуществляются регулируемыми упорами на барабане упоров.
Теоретическое число ступеней на шпинделе:
Рисунок 4. На нулевой вал (вал электродвигателя) наносится логарифмическая шкала частот оборотов в интервале, охватывающем минимальные и максимальные частоты оборотов, которые могут иметь место на валах коробки скоростей. Обычно ориентируются по наименьшим и наибольшим оборотам шпинделя и оборотам вала электродвигателя. Масштаб шкалы выбирается таким, чтобы график оборотов удобно разместился на выбранном формате листа и был чётким. На шкале наносим числа частот.
Принимаем стандартное значение f = 1.41, тогда теоретический ряд будет: 33, 47, 66, 186, 262, 370, 522, 735, 1040, 1470. Далее определяем допустимое отклонение по формуле:
Таким образом, отклонения фактического ряда от теоретического находятся в допустимых пределах. Определяем вид структуры коробки скоростей – множительная или сложенная. Для множительной структуры структурная формула имеет вид:
Где k – число групп передач в коробке скоростей. Р – общее число передач в группе Р1 – основная группа, передаточные отношения кинематических пар в этой группе составляют ряд со знаменателем f, переключение их последовательно изменяет частоту оборотов на шпинделе – n1, n2, n3, …;
Положение каждой группы в формуле определяется конструктивным расположением их в коробке скоростей. И для нашего станка имеем:
Следовательно, в данном станке на первом месте стоит вторая размножающая группа, на втором – основная и на третьем – первая размножающая группа. Сложенная структура представляет собой сумму обычных множительных структур и как бы содержит две и более кинематических цепей. Одна структура – основная, она используется для получения всех скоростей на шпинделе, остальные – дополнительные, они используются для части скоростей.
между валами II – IV структурная формула может быть записана как сложенная:
Сложенные структуры позволяют обеспечивать большие диапазоны регулирования коробок скоростей, при этом все значения передаточных отношений находятся в требуемых пределах. В этих структурах высокие скорости получаются с помощью коротких кинематических цепей, что увеличивает КПД привода.
т.е. несколько выходит за пределы допустимого. Итак, коробка скоростей станка 1П 365 имеет сложенную структуру, состоящую из шестиступенчатой основной множотельной структуры и одинарного перебора. Передаточные отношения всех зубчатых пар находятся в пределах рекомендуемого интервала, за исключением пары 20/86. Лучевая диаграмма скоростей представляет собой графическую зависимость скорости резания от диаметра заготовки или диаметра инструмента и частоты оборотов для всех частот станка. Аналитическая зависимость выражается уравнением:
где v – скорость резания; м/мин D – диаметр заготовки или инструмента; мм n – частота вращения шпинделя; об/мин Лучевая диаграмма скоростей служит для быстрого определения n по заданным v и D.
Рисунок 5.
Далее следует записать аналогичные уравнения для продольной подачи револьверного суппорта Sпр.р.с., поперечной подачи бокового суппорта Sпоп.б.с. и ускоренных перемещений суппортов.
Т.к. в паспорте станка число подач суппортов равно 11, то вместо Zs = Z3 = 18 принимаем Zs = 11 (7 пар передаточных отношений совпадают).
В данной работе был произведен кинематический анализ токарно-револьверного станка 1П 365 и построен график частот оборотов шпинделя и лучевая диаграмма. Так же был произведен расчет инструментов: метчика и фасонного призматического резца, и вычерчены их рабочие чертежи.
Поделитесь этой записью или добавьте в закладки |
Полезные публикации |
Втулка резьбовая
Длину l1 (Рис. 1) заборной части рекомендуется выбирать в зависимости от толщины срезаемой стружки по формуле:
Основные элементы метчика.
5. Угол наклона заборной части f определяется из формулы:
1. На высоте центра Он вращения детали распологается та узловая контурная точка 1 фасонного профиля режущего лезвия, которая лежит на наименьшем радиусе r1. Расположение остальных узловых точек определяется пересечением передней поверхности резца с окружностями детали радиусами r2, r3, r4. (Рис. 2)
d = 4, M = 24.
e = a + g = 10 + 20 = 30
8. После находим Рi из уравнений:
Составляем кинематическое уравнение цепи главного движения в развёрнутом виде и определяем теоретическое число ступеней регулирования z.
Проводятся вертикальные линии валов 0, I, II,… на равном расстоянии друг от друга. Последний вал обычно является шпинделем станка (Рис. 4).
По фактическим nмах и nмin на шпинделе и фактическому числу ступеней определяется знаменатель геометрического ряда:
Для нашего случая:
Расчитанный ряд сопоставляем с фактическим (на схеме частот оборотов). Определяются наиболее значительные отклонения частот фактического ряда от теоретического:
Строим диаграмму в координатных осях с логарифмическими шкалами.
Для одной из цепей подач определяются Smax и Smin, диапазон регулирования подачи:
Определяем теоретический ряд подач:
Главная