Ìîñêîâñêèé Ãîñóäàðñòâåííûé Àâèàöèîííûé Òåõíîëîãè÷åñêèé Óíèâåðñèòåò èìåíè Ê.Ý.Öèîëêîâñêîãî
Êàôåäðà: Òåõíîëîãèÿ ëèòåéíîãî ïðîèçâîäñòâà
Ëèòüå ïîä ðåãóëèðóåìûì äàâëåíèåì
Ñòóäåíò ãðóïïû 1ÌÒÑÂ-3-8 Ìîøêèí Þ.Á.
Ïðåïîäàâàòåëü Áîáðûøåâ Á.Ë.
Ìîñêâà, 1995 ãîä. Ê ëèòüþ ïîä ðåãóëèðóåìûì äàâëåíèåì îòíîñÿò ñïîñîáû ëèòüÿ, ñóùíîñòü êîòîðûõ çàêëþ÷àåòñÿ â òîì, ÷òî çàïîëíåíèå ïîëîñòè ôîðìû ðàñïëàâèì è çàòâåðäåâàíèå îòëèâêè ïðîèñõîäèò ïîä äåéñòâèåì èçáûòî÷íîãî äàâëåíèÿ âîçäóõà èëè ãàçà.
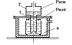
Ëèòüå ïîä ðåãóëèðóåìûì äàâëåíèåì ñîçäàåò øèðîêèå âîçìîæíîñòè äëÿ óïðàâëåíèÿ çàïîëíåíèåì ôîðìû ðàñïëàâèì. Åñëè âíóòðü ãåðìåòè÷íîé êàìåðû à ïîäàâàòü ñæàòûé âîçäóõ èëè ãàç ïîä äàâëåíèåì Ðèçá>Ðàòì, òî çà ñ÷åò ðàçíèöû äàâëåíèé ðàñïëàâ ïîäíèìåòñÿ ïî ìåòàëëîïðîâîäó 1 è çàïîëíèò ôîðìó 2 äî óðîâíÿ, ñîîòâåòñòâóþùåãî H=(p èçá -p àòì )/ r . Òàêîé ñïîñîá çàïîëíåíèÿ íàçûâàþò ëèòüåì ïîä íèçêèì äàâëåíèåì . Òåðìèí "íèçêîå äàâëåíèå" èñïîëüçóåòñÿ ïîòîìó, ÷òî äëÿ ïîäúåìà ðàñïëàâà è çàïîëíåíèÿ ôîðìû òðåáóåìîå èçáûòî÷íîå äàâëåíèå ìåíåå 0.1 ÌÏà.
Åñëè â ãåðìåòè÷íîé êàìåðå á óñòàíîâîê ñîçäàâàòü âàêóóì, à â êàìåðå à äàâëåíèå ïîääåðæèâàòü ðàâíîå àòìîñôåðíîìó, òî çàïîëíåíèå ôîðìû ïðîèçîéäåò çà ñ÷åò ðàçíèöû äàâëåíèé Ðàòì-Ð. Òàêîé ñïîñîá çàïîëíåíèÿ íàçûâàþò ëèòüåì âàêóóìíûì âñàñûâàíèåì . Èñïîëüçóÿ ñõåìó óñòàíîâêè àíàëîãè÷íóþ äàííîé ìîæíî îñóùåñòâèòü çàïîëíåíèå ôîðìû èíà÷å. Ïîëîæèì, ÷òî â êàìåðàõ à è á âíà÷àëå ñîçäàíî îäèíàêîâîå, íî áîëüøå àòìîñôåðíîãî äàâëåíèå âîçäóõà èëè ãàçà Ðê>Ðàòì. Çàòåì ïîäà÷à âîçäóõà â êàìåðó á ïðåêðàùàåòñÿ, à â êàìåðó à ïðîäîëæàåòñÿ; äàâëåíèå â êàìåðå à ïîâûøàåòñÿ äî Ðê+ D Ð. Òîãäà ìåòàëë áóäåò ïîäíèìàòüñÿ ïî ìåòàëëîïðîâîäó âñëåäñòâèå ðàçíèöû äàâëåíèé Ðà-Ðá, ò.å. àíàëîãè÷íî òîìó, êàê è ïðè ëèòüå ïîä íèçêèì äàâëåíèåì. Òîãî æå ðåçóëüòàòà ìîæíî äîñòè÷ü, åñëè ïîíèæàòü äàâëåíèå â êàìåðå á, îñòàâëÿÿ ïîñòîÿííûì äàâëåíèå â êàìåðå à. Òàêèå ïðîöåññû íàçûâàþò ëèòüåì ïîä íèçêèì äàâëåíèåì ñ ïðîòèâîäàâëåíèåì . Óñòàíîâêè äëÿ ëèòüÿ ïîä ðåãóëèðóåìûì äàâëåíèåì - ñëîæíûå äèíàìè÷åñêèå ñèñòåìû, ïîçâîëÿþùèå â øèðîêèõ ïðåäåëàõ ðåãóëèðîâàòü ñêîðîñòü çàïîëíåíèÿ ôîðìû ðàñïëàâèì. Èñïîëüçîâàíèå òàêèõ óñòàíîâîê ïîçâîëÿåò çàïîëíèòü ôîðìû òîíêîñòåííûõ 9600 îëèâîê, èçìåíèòü ïðîäîëæèòåëüíîñòü çàïîëíåíèÿ îòäåëüíûõ ó÷àñòêîâ ôîðìû îòëèâîê ñëîæíîé êîíôèãóðàöèè ñ ïåðåìåííîé òîëùèíîé ñòåíêè ñ öåëüþ óïðàâëåíèÿ ïðîöåññîì òåïëîîáìåíà ðàñïëàâà è ôîðìû, äîáèâàÿñü ðàöèîíàëüíîé ïîñëåäîâàòåëüíîñòè çàòâåðäåâàíèÿ îòäåëüíûõ ÷àñòåé îòëèâêè. Ïðèëîæåíèå äàâëåíèÿ íà çàòâåðäåâàþùèé ðàñïëàâ ïîçâîëÿåò óëó÷øèòü óñëîâèÿ ïèòàíèÿ, óñàäêè îòëèâêè, ïîâûñèòü åå êà÷åñòâî - ìåõàíè÷åñêèå ñâîéñòâà è ãåðìåòè÷íîñòü.  ðàññìàòðèâàåìûõ ïðîöåññàõ ïîñëå çàïîëíåíèÿ ôîðìû äàâëåíèå äåéñòâóåò íà ðàñïëàâ, êîòîðûé èç òèãëÿ ÷åðåç ìåòàëëîïðîâîä ïîñòóïàåò â çàòâåðäåâàþùóþ îòëèâêó è ïèòàåò åå. Áëàãîäàðÿ ýòîìó óñàäî÷íàÿ ïîðèñòîñòü â òàêèõ îòëèâêàõ óìåíüøàåòñÿ, ïëîòíîñòü è ìåõàíè÷åñêèå ñâîéñòâà âîçðàñòàþò. Ëèòüå ïîä ðåãóëèðóåìûì äàâëåíèåì îñóùåñòâëÿåòñÿ íà óñòàíîâêàõ òàê, ÷òî ïðîöåññ çàïîëíåíèÿ ôîðìû ðàñïëàâèì - ñàìàÿ òðóäîåìêàÿ è íåïðèÿòíàÿ ñ òî÷êè çðåíèÿ îõðàíû òðóäà è òåõíèêè áåçîïàñíîñòè îïåðàöèÿ - âûïîëíÿåòñÿ àâòîìàòè÷åñêè. Êîíñòðóêöèè óñòàíîâîê è ìàøèí äëÿ ýòèõ ëèòåéíûõ ïðîöåññîâ îáåñïå÷èâàþò òàêæå àâòîìàòèçàöèþ îïåðàöèé ñáîðêè è ðàñêðûòèÿ ôîðì, âûòàëêèâàíèÿ îòëèâêè è åå óäàëåíèÿ èç ôîðìû. Òàêèì îáðàçîì, ïðîöåññû ëèòüÿ ïîä ðåãóëèðóåìûì äàâëåíèåì ïîçâîëÿþò ïîâûñèòü êà÷åñòâî îòëèâîê è îáåñïå÷èòü àâòîìàòèçàöèþ èõ ïðîèçâîäñòâà.  ïðàêòèêå íàèáîëüøåå ïðèìåíåíèå íàøëè ñëåäóþùèå ïðîöåññû ëèòüÿ ïîä ðåãóëèðóåìûì äàâëåíèåì: ëèòüå ïîä íèçêèì äàâëåíèåì, ëèòüå ïîä íèçêèì äàâëåíèåì ñ ïðîòèâîäàâëåíèåì, ëèòüå âàêóóìíûì âñàñûâàíèåì, ëèòüå âàêóóìíûì âñàñûâàíèåì ñ êðèñòàëëèçàöèåé ïîä äàâëåíèåì (âàêóóìíî - êîìïðåññèîííîå ëèòüå). Ëèòüå ïîä íèçêèì äàâëåíèåì Òèãåëü ñ ðàñïëàâèì â ðàçäàòî÷íîé ïå÷è (êàìåðå) óñòàíîâêè ãåðìåòè÷íî çàêðûâàþò êðûøêîé â êîòîðîé óñòàíîâëåí ìåòàëîïðîâîä, èçãîòîâëåííûé èç æàðîñòîéêîãî ìàòåðèàëà. Ìåòàëëîïðîâîä ïîãðóæàþò â ðàñïëàâ òàê, ÷òî êîíåö åãî íå äîñòàåò äî êîíöà òèãëÿ íà 40-60 ìì. Ôîðìó óñòàíîâëåííóþ íà êðûøêå, ñîåäèíÿþò ñ ìåòàëîïðîâîäîì ëèòíèêîâîé âòóëêè. Ïîëîñòü â îòëèâêå ìîæåò áûòü âûïîëíåíà ìåòàëëè÷åñêèì, îáîëî÷êîâûì èëè ïåñ÷àíûì ñòåðæíåì. Âîçäóõ èëè èíåðòíûé ãàç ïîä äàâëåíèåì äî 0.1ÌÏà ÷åðåç ñèñòåìó ðåãóëèðîâàíèÿ ïîñòóïàåò ïî òðóáîïðîâîäó âíóòðü êàìåðû óñòàíîâêè è àòìîñôåðíûì äàâëåíèåì ðàñïëàâ ïîñòóïàåò â ôîðìó ñíèçó ÷åðåç ìåòàëîïðîâîä, ëèòíèê è êîëëåêòîð ñî ñêîðîñòüþ, ðåãóëèðóåìîé äàâëåíèåì â êàìåðå óñòàíîâêè. Ïî îêîí÷àíèè çàïîëíåíèÿ ôîðìû è çàòâåðäåâàíèÿ îòëèâêè àâòîìàòè÷åñêè îòêðûâàåòñÿ êëàïàí, ñîåäèíÿþùèé êàìåðó óñòàíîâêè ñ àòìîñôåðîé. Äàâëåíèå âîçäóõà â êàìåðå ñíèæàåòñÿ äî àòìîñôåðíîãî è íåçàòâåðäåâøèé ðàñïëàâ èç ìåòàëîïðîâîäà ñëèâàåòñÿ â òèãåëü. Ïîñëå ýòîãî ôîðìà ðàñêðûâàåòñÿ, îòëèâêà èçâëåêàåòñÿ è öèêë ïîâòîðÿåòñÿ. Îñíîâíûìè ïðåèìóùåñòâàìè ïðîöåññà ëèòüÿ ïîä íèçêèì äàâëåíèåì ÿâëÿþòñÿ: àâòîìàòèçàöèÿ òðóäîåìêîé îïåðàöèè çàëèâêè ôîðìû; âîçìîæíîñòü ðåãóëèðîâàíèÿ ñêîðîñòè ïîòîêà ðàñïëàâà â ïîëîñòè ôîðìû èçìåíåíèåì äàâëåíèÿ â êàìåðå óñòàíîâêè; óëó÷øåíèå ïèòàíèÿ îòëèâêè; ñíèæåíèå ðàñõîäà ìåòàëëà íà ëèòíèêîâóþ ñèñòåìó. Îñíîâíûå íåäîñòàòêè íåâûñîêàÿ ñòîéêîñòü ÷àñòè ìåòàëëîïðîâîäà, ïîãðóæåííîé â ðàñïëàâ, ÷òî çàòðóäíÿåò èñïîëüçîâàíèå ñïîñîáà ëèòüÿ äëÿ ñïëàâîâ ñ âûñîêîé òåìïåðàòóðîé ïëàâëåíèÿ; ñëîæíîñòü ñèñòåìû ðåãóëèðîâàíèÿ ñêîðîñòè ïîòîêà ðàñïëàâà â ôîðìå, âûçâàííàÿ äèíàìè÷åñêèìè ïðîöåññàìè, ïðîèñõîäÿùèìè â óñòàíîâêå ïðè çàïîëíåíèè åå êàìåðû âîçäóõîì, íåñòàáèëüíîñòüþ óòå÷åê âîçäóõà ÷åðåç óïëîòíåíèÿ, ïîíèæåíèåì óðîâíÿ ðàñïëàâà â óñòàíîâêå ïî ìåðå èçãîòîâëåíèÿ îòëèâîê; âîçìîæíîñòü óõóäøåíèÿ êà÷åñòâà ñïëàâà ïðè äëèòåëüíîé âûäåðæêå â òèãëå óñòàíîâêè; ñëîæíîñòü ýêñïëóàòàöèè è íàëàäêè óñòàíîâîê. Ïðåèìóùåñòâà è íåäîñòàòêè ñïîñîáà îïðåäåëÿþò ðàöèîíàëüíóþ îáëàñòü åãî ïðèìåíåíèÿ è ïåðñïåêòèâû èñïîëüçîâàíèÿ. Ëèòüå ïîä íèçêèì äàâëåíèåì íàèáîëåå øèðîêî ïðèìåíÿþò äëÿ èçãîòîâëåíèÿ ñëîæíûõ ôàñîííûõ è îñîáåííî òîíêîñòåííûõ îòëèâîê èç àëþìèíèåâûõ è ìàãíèåâûõ ñïëàâîâ, ïðîñòûõ îòëèâîê èç ìåäíûõ ñïëàâîâ è ñòàëåé â ñåðèéíîì è ìàññîâîì ïðîèçâîäñòâå. Îñîáåííîñòè ôîðìèðîâàíèÿ îòëèâêè ïðè ëèòüå ïîä íèçêèì äàâëåíèåì. Çàïîëíåíèå ôîðì ðàñïëàâèì ïðè ýòîì ñïîñîáå ëèòüÿ ìîæåò îñóùåñòâëÿòñÿ ñî ñêîðîñòÿìè ïîòîêà, êîòîðûå ìîæíî ðåãóëèðîâàòü â øèðîêîì äèàïàçîíå. Äëÿ ïîëó÷åíèÿ êà÷åñòâåííûõ îòëèâîê ïðåäïî÷òèòåëüíî çàïîëíÿòü ôîðìó ñïëîøíûì ïîòîêîì, ïðè ñêîðîñòÿõ, îáåñïå÷èâàþùèõ êà÷åñòâåííîå çàïîëíåíèå ôîðìû è èñêëþ÷àþùèõ çàõâàò âîçäóõà ðàñïëàâèì, îáðàçîâàíèå â îòëèâêàõ ãàçîâûõ ðàêîâèí, ïîïàäàíèå â íèõ îêèñíûõ ïëåíîê è íåìåòàëè÷åñêèõ âêëþ÷åíèé. Îäíàêî óìåíüøåíèå ñêîðîñòè ïîòîêà, íåîáõîäèìîå äëÿ ñîõðàíåíèÿ åãî ñïëîøíîñòè ìîæåò âûçâàòü ïðåæäåâðåìåííîå îõëàæäåíèå è çàòâåðäåâàíèå ðàñïëàâà, ò.å. äî ïîëíîãî çàïîëíåíèÿ ôîðìû. Ïîýòîìó, êàê è â äðóãèõ ëèòåéíûõ ïðîöåññàõ, âàæíî ñîãëàñîâûâàòü ãèäðàâëè÷åñêèå è òåïëîâûå ðåæèìû çàïîëíåíèÿ ôîðìû ðàññïëàâîì.  çàâèñèìîñòè îò ñî÷åòàíèÿ êîíñòðóêòèâíûõ è ïíåâìàòè÷åñêèõ ïàðàìåòðîâ óñòàíîâêè äâèæåíèå ðàñïëàâà â ìåòàëëîïðîâîäå è ëèòåéíîé ôîðìå ïðè çàïîëíåíèè ìîæåò ïðîèñõîäèòü êàê ïðè âîçðàñòàþùåé ñêîðîñòè ïîòîêà, òàê è ïðè êîëåáàòåëüíîì åå èçìåíåíèè. Êîëåáàòåëüíûé õàðàêòåð èçìåíåíèÿ ñêîðîñòè îòðèöàòåëüíî âëèÿåò íà êà÷åñòâî îòëèâîê, ïîýòîìó êîíñòðóêöèÿ óñòàíîâêè è ðåæèì ðàáîòû åå ïíåâìîñèñòåìû, à òàêæå êîíñòðóêöèÿ âåíòèëÿöèîííîé ñèñòåìû ôîðìû äîëæíû ñïîñîáñòâîâàòü ãàøåíèþ êîëåáàíèé ñêîðîñòè. Îñíîâíûìè êîíñòðóêòèâíûìè ïàðàìåòðàìè óñòàíîâêè ÿâëÿþòñÿ: îáúåì ðàáî÷åãî ïðîñòðàíñòâà êàìåðû, ïëîùàäü ïîïåðå÷íîãî ñå÷åíèÿ îòâåðñòèÿ ìåòàëëîïðîâîäà, ïëîùàäü çåðêàëà ðàñïëàâà â òèãëå. Óâåëè÷åíèå îáúåìà ðàáî÷åãî ïðîñòðàíñòâà êàìåðû óñòàíîâêè óâåëè÷èâàåò ñêîðîñòü ïîòîêà, ñïîñîáñòâóåò ãàøåíèþ êîëåáàíèé, íî ïîëíîñòüþ èõ íå èñêëþ÷àåò. Óìåíüøåíèå ïëîùàäè ñå÷åíèÿ îòâåðñòèÿ ìåòàëëîïðîâîäà â óñòàíîâêàõ ñ îáúåìîì ðàáî÷åãî ïðîñòðàíñòâà ìåíåå 0.07 ì 3 ïðèâîäèò ê ðåçêîìó ãàøåíèþ êîëåáàíèé è óâåëè÷åíèþ ñêîðîñòè òå÷åíèÿ ðàñïëàâà, â óñòàíîâêàõ ñ îáúåìîì ðàáî÷åãî ïðîñòðàíñòâà áîëåå 0.4 ì 3 óâåëè÷åíèå ïëîùàäè ñå÷åíèÿ îòâåðñòèÿ ìåòàëëîïðîâîäà íå âëèÿåò íà õàðàêòåð äâèæåíèÿ ïîòîêà è ñêîðîñòü ðàñïëàâà íà âõîäå â ôîðìó. Óâåëè÷åíèå ïëîùàäè çåðêàëà ðàñïëàâà â òèãëå ïðè óñëîâèè ïîñòîÿíñòâà ìàññû ðàñïëàâà â íåì ñïîñîáñòâóåò ñïîêîéíîìó çàïîëíåíèþ. Ïîýòîìó óñòàíîâêè ñ òèãëåì âàííîãî òèïà, â êîòîðûõ çåðêàëî ðàñïëàâà äîñòàòî÷íî âåëèêî, áîëåå ïðåäïî÷òèòåëüíû, òàê êàê îáåñïå÷èâàþò óñòîé÷èâûé ðåæèì ðàáîòû. Óâåëè÷åíèå ãèäðàâëè÷åñêîãî ñîïðîòèâëåíèÿ íà âõîäå ðàñïëàâà â ìåòàëëîïðîâîä ïðèâîäèò ê ñíèæåíèþ óñêîðåíèÿ ðàñïëàâà â íà÷àëå çàïîëíåíèÿ è ãàñèò âîçíèêàþùèå êîëåáàíèÿ. Âàæíîå çíà÷åíèå äëÿ îáåñïå÷åíèÿ ïîñòîÿíñòâà çàäàííîé ñêîðîñòè îò çàëèâêå ê çàëèâêå, ò.å. ïî ìåðå ïîíèæåíèÿ óðîâíÿ ðàñïëàâà â òèãëå, èìååò ñèñòåìà óïðàâëåíèÿ ïîäà÷åé âîçäóõà â êàìåðó óñòàíîâêè. Ñèñòåìû ðåãóëèðîâàíèÿ ïî âåëè÷èíå äàâëåíèÿ öåëåñîîáðàçíî èñïîëüçîâàòü òîëüêî â óñòàíîâêàõ âàííîãî òèïà. Ïðè ýòîì òî÷íîñòü ðåãóëèðîâàíèÿ äîëæíà áûòü â ïðåäåëàõ 0.01-0.05ÌÏà; ýòî îáåñïå÷èâàåò ïîääåðæàíèå ñêîðîñòè çàëèâêè ñ ïîãðåøíîñòüþ 10-15%. Äëÿ óñòàíîâîê âàííîãî òèïà èñïîëüçóþò äðîññåëüíûå ñèñòåìû ðåãóëèðîâàíèÿ. Êîíñòðóêöèÿ ïîëîñòè ôîðìû è êîíñòðóêöèÿ åå âåíòèëÿöèîííîé ñèñòåìû òàêæå îêàçûâàþò âëèÿíèå íà õàðàêòåð äâèæåíèÿ ðàñïëàâà â ïîëîñòè ôîðìû. Ïðè çàïîëíåíèè ôîðì ñëîæíûõ îòëèâîê ñ ðåáðàìè, áîáûøêàìè ñîçäàþòñÿ óñëîâèÿ äëÿ çàõâàòà âîçäóõà ïîòîêîì ðàñïëàâà. Ãèäðàâëè÷åñêîå ñîïðîòèâëåíèå ïîëîñòè ôîðìû îêàçûâàåò ñóùåñòâåííîå âëèÿíèå íà õàðàêòåð äâèæåíèÿ ïîòîêà. Êîíñòðóêöèÿ âåíòèëÿöèîííîé ñèñòåìûâëèÿåò íà õàðàêòåð äâèæåíèÿ ïîòîêàðàñïëàâà â ïîëîñòè ôîðìû è ìåòàëëîïðîâîäå. Óìåíüøåíèå ïëîùàäè âåíòèëÿöèîííûõ êàíàëîâ ïðèâîäèò ê âîçðàñòàíèþ ïðîòèâîäàâëåíèÿ âîçäóõà â ïîëîñòè ôîðìû, ñïîñîáñòâóåò ãàøåíèþ êîëåáàíèé è ñíèæàåò ñêîðîñòü ïîòîêà ðàñïëàâà. Òåïëîâûå óñëîâèÿ ôîðìèðîâàíèÿ îòëèâêè ñîçäàþò âîçìîæíîñòü íàïðàâëåííîãî çàòâåðäåâàíèÿ îòëèâêè è ïèòàíèÿ åå óñàäêè. ×àñòè ôîðìû, ðàñïîëîæåííûå íà âåðõíåé ïëèòå ðàáî÷åé êàìåðû óñòàíîâêè íàãðåâàþòñÿ äî òåìïåðàòóðû áîëüøåé, ÷åì âåðõíÿÿ ÷àñòü ôîðìû. Êðîìå òîãî, ÷åðåç íèæíèå ñå÷åíèÿ ïîëîñòè ôîðìû, ðàñïîëîæåííûå áëèæå ê ìåòàëëîïðîâîäó, ïðîõîäèò áîëüøåå êîëè÷åñòâî ðàñïëàâà, ÷åì ÷åðåç ñå÷åíèÿ, ðàñïîëîæåííûå â âåðõíåé ÷àñòè, ÷òî ñóùåñòâåííî óâåëè÷èâàåò ðàçíèöó òåìïåðàòóð â íèæíåé è âåðõíåé ÷àñòÿõ îòëèâêè. Ïîýòîìó ìàññèâíûå ÷àñòè îòëèâêè, òðåáóþùèå ïèòàíèÿ, ðàñïîëàãàþò âíèçó ôîðìû, ñîåäèíÿþò èõ ìàññèâíûìè ëèòíèêàìè ñ ìåòàëëîïðîâîäîì; ââåðõó æå ôîðìû ðàñïîëàãàþò ÷àñòè îòëèâêè, íå òðåáóþùèå ïèòàíèÿ. Ñòàòè÷åñêîå äàâëåíèå íà ðàñïëàâ ïî îêîí÷àíèè çàïîëíåíèÿ ôîðìû óëó÷øàåò êîíòàêò çàòâåðäåâàþùåé êîðî÷êè è ïîâåðõíîñòè ôîðìû, âñëåäñòâèå ÷åãî óâåëè÷èâàåòñÿ ñêîðîñòü çàòâåðäåâàíèÿ îòëèâêè. Âìåñòå ñ òåì äàâëåíèå âîçäóõà íà ðàñïëàâ â òèãëå ñïîñîáñòâóåò ïîñòîÿííîé ïîäïèòêå óñàæèâàþùåéñÿ îòëèâêè, â ðåçóëüòàòå ÷åãî óìåíüøàåòñÿ óñàäî÷íàÿ ïîðèñòîñòü, âîçðàñòàåò ïëîòíîñòü è ïîâûøàþòñÿ ìåõàíè÷åñêèå ñâîéñòâà îòëèâêè. Èçáûòî÷íîå äàâëåíèå â ïîòîêå ðàñïëàâà ïðè çàïîëíåíèè ôîðìû áîëüøå, ÷åì ïðè ãðàâèòàöèîííîé çàëèâêå, è ãèäðàâëè÷åñêèé óäàð, êîòîðûé ìîæåò âîçíèêíóòü ïðè îêîí÷àíèè çàïîëíåíèÿ ôîðìû, ïðèâîäèò ê ïðîíèêàíèþ ðàñïëàâà â ïîðû ïåñ÷àíîãî ñòåðæíÿ, ïîÿâëåíèþ ìåõàíè÷åñêîãî ïðèãàðà íà îòëèâêàõ. Ïðè ëèòüå ïîä íèçêèì äàâëåíèåì ñòðåìÿòñÿ çàïîëíèòü ôîðìó ðàñïëàâèì ñ âîçìîæíî ìåíüøèì ïåðåãðåâîì, äîñòàòî÷íûì äëÿ õîðîøåãî çàïîëíåíèÿ ôîðìû. Ñ óìåíüøåíèåì òîëùèíû ñòåíêè îòëèâêè è óâåëè÷åíèåì åå ðàçìåðîâ òåìïåðàòóðó çàëèâêè ïðèíèìàþò áîëüøåé. Ëèòíèêîâûå ñèñòåìû êîíñòðóèðóþò ñ ó÷åòîì ëèòåéíûõ ñâîéñòâ ñïëàâà è êîíñòðóêöèè îòëèâêè. Äëÿ îòëèâîê ïðîñòîé êîíôèãóðàöèè ëèòíèêîâàÿ ñèñòåìà ìîæåò ñîñòîÿòü èç îäíîãî ëèòíèêà, íåïîñðåäñòâåííî ïðèìûêàþùåãî ê ìàññèâíîé ÷àñòè, äëÿ áîëåå ñëîæíûõ òîíêîñòåííûõ îòëèâîê - èç ëèòíèêà, ëèòíèêîâûõ õîäîâ, êîëëåêòîðà è ïèòàòåëåé.
Ëèòüå ñ ïðîòèâîäàâëåíèåì Ðàçâèòèå ëèòüÿ ïîä íèçêèì äàâëåíèåì ÿâëÿåòñÿ ëèòüå ñ ïðîòèâîäàâëåíèåì. Óñòàíîâêà äëÿ ëèòüÿ ñ ïðîòèâîäàâëåíèåì ñîñòîèò èç äâóõ êàìåð.  êàìåðå, óñòðîéñòâî êîòîðîé ïîäîáíî ãåðìåòè÷åñêîé êàìåðå óñòàíîâêè ëèòüÿ ïîä íèçêèì äàâëåíèåì, ðàñïîëàãàåòñÿ òèãåëü ñ ðàñïëàâèì.  êàìåðå íàõîäèòñÿ ôîðìà, îáû÷íî ìåòàëëè÷åñêàÿ. Êàìåðû ðàçäåëíû ãåðìåòè÷íîé êðûøêîé, ÷åðåç íåå ïðîõîäèò ìåòàëëîïðîâîä, ñîåäèíÿþùèé òèãåëü è ôîðìó. Ýòè êàìåðû ïðî÷íî ñîåäèíåíû äðóã ñ äðóãîì çàæèìàìè. Äàâëåíèå âîçäóõà, ïîä êîòîðûì ïðîèñõîäèò çàïîëíåíèå ôîðìû ðàñïëàâèì, áóäåò áóäåò ñîîòâåòñòâåííî ðàâíî ðàçíèöå äàâëåíèé â íèæíåé Ðà è âåðõíåé Ðá êàìåðàõ óñòàíîâêè: D Ð=Ðà-Ðá. Ñêîðîñòü ïîäúåìà ðàñïëàâà â ìåòàëëîïðîâîäå è ïîëîñòè ôîðìû òàê æå, êàê è ïðè ëèòüå ïîä íèçêèì äàâëåíèåì, áóäåò çàâèñåòü îò âñåé ñîâîêóïíîñòè ðàññìîòðåííûõ âûøå êîíñòðóêòèâíûõ è ïíåâìàòè÷åñêèõ õàðàêòåðèñòèê ñèñòåìû, îïðåäåëÿþùèõ ñêîðîñòü íàðàñòàíèÿ ðàçíèöû äàâëåíèé D Ð, âî âðåìÿ ðàáîòû óñòàíîâêè. Ëèòüå ñ ïðîòèâîäàâëåíèåì ïîçâîëÿåò óìåíüøèòü âûäåëåíèå ãàçîâ èç ðàñïëàâà, óëó÷øèòü ïèòàíèå îòëèâîê è âñëåäñòâèå ýòîãî ïîâûñèòü èõ ãåðìåòè÷íîñòü, à òàêæå ìåõàíè÷åñêèå ñâîéñòâà. Ýòîò ñïîñîá ëèòüÿ äàåò íàèáîëüøèé ýôôåêò ïðè èçãîòîâëåíèè îòëèâîê ñ ìàññèâíûìè ñòåíêàìè ðàâíîìåðíîé òîëùèíû èç àëþìèíèåâûõ è ìàãíèåâûõ ñïëàâîâ, êðèñòàëëèçóþùèõñÿ â øèðîêîì èíòåðâàëå òåìïåðàòóð. Èñïîëüçîâàíèå âòîðîé ñòàäèè ïðîöåññà - êðèñòàëëèçàöèè ïîä âñåñòîðîííèì èçáûòî÷íûì äàâëåíèåì äëÿ òîíêîñòåííûõ îòëèâîê íå âñåãäà ïðèâîäèò ê çàìåòíîìó óëó÷øåíèþ ñâîéñòâ. Ýòî îáúÿñíÿåòñÿ òåì, ÷òî ïðîäîëæèòåëüíîñòü êðèñòàëëèçàöèè òîíêîñòåííûõ îòëèâîê ìàëà è îòëèâêà çàòâåðäåâàåò ïðåæäå, ÷åì äàâëåíèå â âåðõíåé êàìåðå óñòàíîâêè äîñòèãíåò íåîáõîäèìîé âåëè÷èíû.
Ëèòüå âàêóóìíûì âñàñûâàíèåì Ñóùíîñòü ïðîöåññà ëèòüÿ âàêóóìíûì âñàñûâàíèåì ñîñòîèò â òîì, ÷òî ðàñïëàâ ïîä äåéñòâèåì ðàçðÿæåíèÿ, ñîçäàâàåìîãî â ïîëîñòè ôîðìû, çàïîëíÿåò åå è çàòâåðäåâàåò, îáðàçóÿ îòëèâêó. Èçìåíåíèåì ðàçíîñòè ìåæäó àòìîñôåðíûì äàâëåíèåì è äàâëåíèåì â ïîëîñòè ôîðìû ìîæíî ðåãóëèðîâàòü ñêîðîñòü çàïîëíåíèÿ ôîðìû ðàñïëàâèì, óïðàâëÿÿ ýòèì ïðîöåññîì. Âàêóóìèðîâàíèå ïîëîñòè ôîðì ïðè çàëèâêå ïîçâîëÿåò çàïîëíèòü ôîðìû òîíêîñòåííûõ îòëèâîê ñ òîëùèíîé ñòåíêè 1-1.5 ìì, èñêëþ÷èòü ïîïàäàíèå âîçäóõà â ðàñïëàâ, ïîâûñèòü òî÷íîñòü, è ìåõàíè÷åñêèå ñâîéñòâà îòëèâîê.  ïðîèçâîäñòâå èñïîëüçóþò óñòàíîâêè äâóõ îñíîâíûõ ðàçíîâèäíîñòåé. Óñòàíîâêè ïåðâîãî òèïà èìåþò äâå êàìåðû: íèæíþþ è âåðõíþþ. Íèæíÿÿ êàìåðà ïðåäñòàâëÿåò ñîáîé ðàçäàòî÷íóþ ïå÷ü ñ ýëåêòðè÷åñêèì èëè ãàçîâûì îáîãðåâîì, â êîòîðîé ðàñïîëàãàåòñÿ òèãåëü ñ ðàñïëàâèì. Âåðõíÿÿ êàìåðà ðàñïîëîæåíà íà êðûøêå íèæíåé êàìåðû, â êðûøêå óñòàíîâëåí ìåòàëëîïðîâîä. Ôîðìó óñòàíàâëèâàþò è çàêðåïëÿþò â êàìåðå òàê, ÷òîáû ëèòíèê ñîåäèíÿëñÿ ïðèæèìàìè ñ êðûøêîé. Ïîëîñòü âåðõíåé êàìåðû ÷åðåç âàêóóì-ïðèâîä ñîåäèíåíà ñ ðåñèâåðîì, â êîòîðîì íàñîñîì ñîçäàåòñÿ ðàçðÿæåíèå, ðåãóëèðóåìîå ñèñòåìîé óïðàâëåíèÿ.  íà÷àëüíûé ìîìåíò êëàïàí óïðàâëåíèÿ îòêðûâàåòñÿ, â âåðõíåé êàìåðå ñîçäàåòñÿ ðàçðÿæåíèå, è ðàñïëàâ âñëåäñòâèå ðàçíèöû äàâëåíèé â êàìåðàõ ïî ìåòàëëîïðîâîäó ïîäíèìàåòñÿ è çàïîëíÿåò ïîëîñòü ôîðìû. Ïîñëå çàòâåðäåâàíèÿ îòëèâêè êëàïàí ñèñòåìû óïðàâëåíèÿ ñîåäèíÿåò ïîëîñòü âåðõíåé êàìåðû ñ àòìîñôåðîé, äàâëåíèå â îáåèõ êàìåðàõ ñòàíîâèòñÿ îäèíàêîâûì, à îñòàòêè íåçàòâåðäåâøåãî ðàñïëàâà ñëèâàþòñÿ èç ìåòàëëîïðîâîäà â òèãåëü. Âåðõíÿÿ êàìåðà ñíèìàåòñÿ, ôîðìà ñ îòëèâêîé èçâëåêàåòñÿ è öèêë ìîæåò ïîâòîðÿòñÿ. Óñòàíîâêè òàêîãî òèïà èñïîëüçóþò îáû÷íî äëÿ óëó÷øåíèÿ çàïîëíåíèÿ ôîðì òîíêîñòåííûõ ñëîæíûõ ôàñîííûõ îòëèâîê èç àëþìèíèåâûõ è ìàãíèåâûõ ñïëàâîâ ñ òîëùèíîé ñòåíêè 2-2.5ìì, à èíîãäà è äî 1-1.5ìì. Óñòàíîâêè âòîðîãî òèïà èñïîëüçóþò äëÿ îòëèâêè âòóëîê, ñëèòêîâ è çàãîòîâîê ïðîñòîé êîíôèãóðàöèè â âîäîîõëàæäàåìûõ ñèñòåìàõ êðèñòàëëèçàòîðû. Íîñîê ìåòàëëè÷åñêîãî âîäîîõëàæäàåìîãî êðèñòàëëèçàòîðà ïîãðóæàåòñÿ â ðàññïëàâ, íàõîäÿùèéñÿ â òèãëå ðàçäàòî÷íîé ïå÷è. Ðàáî÷àÿ ïîëîñòü êðèñòàëëèçàòîðà, îðàçóþùàÿ îòëèâêó, ñîåäèíÿåòñÿ âàêóóìîì-ïðîâîäîì ñ âàêóóìíûì ðåñèâåðîì. Ðàçðÿæåíèå â ñèñòåìå ñîçäàåòñÿ âàêóóìîì-íàñîñîì è ðåãóëèðóåòñÿ íàòåêàòåëåì. Ïîâîðîòîì ðàñïðåäåëèòåëüíîãî êðàíà ðàáî÷àÿ ïîëîñòü êðèñòàëëèçàòîðà ñîåäèíÿåòñÿ â âàêóóìíûì ðåñèâåðîì.  ïîëîñòè êðèñòàëëèçàòîðà ñîçäàåòñÿ ðàçðåæåíèå, è ðàñïëàâ âñàñûâàåòñÿ âíóòðü êðèñòàëëèçàòîðà, ïîäíèìàÿñü íà âûñîòó, ïðîïîðöèîíàëüíóþ ðàçðåæåíèþ hðò è îáðàòíî ïðîïîðöèîíàëüíî åå ïëîòíîñòè. Ïîñëå çàòâåðäåâàíèÿ îòëèâêè íîñîê êðèñòàëëèçàòîðà èçâëåêàþò èç âàííû ðàñïëàâà, ïîâîðîòîì êðàíà, ðàáî÷óþ ïîëîñòü ñîåäèíÿþò ñ àòìîñôåðîé è îòëèâêà âûïàäàåò èç êðèñòàëëèçàòîðà â ïðèåìíûé êîðîá. Îñîáåííîñòè ôîðìèðîâàíèÿ îòëèâêè. Ôîðìà ìîæåò çàïîëíÿòñÿ ðàñïëàâèì ñ òåáóåìîé ñêîðîñòüþ, ïëàâíî, áåç ðàçáðûçãèâàíèÿ, ñïëîøíûì ôðîíòîì; ðàñïëàâ, çàïîëíèâøèé ôîðìó, çàòâåðäåâàåò â óñëîâèÿõ âàêóóìà; ãàçû, ñîäåðæàùèåñÿ â ðàñïëàâå, ìîãóò èç íåãî âûäåëÿòüñÿ, áëàãîäàðÿ ÷åìó ñîçäàþòñÿ óñëîâèÿ äëÿ ïîëó÷åíèÿ îòëèâîê áåç ãàçîâûõ ðàêîâèí è ïîðèñòîñòè. Äëÿ ïîëó÷åíèÿ ïëîòíûõ îòëèâîê áåç óñàäî÷íûõ äåôåêòîâ íåîáõîäèìî ñîãëàñîâûâàòü èíòåíñèâíîñòè çàòâåðäåâàíèÿ è ïèòàíèÿ îòëèâêè. Îáû÷íî ïðè ëèòüå âàêóóìíûì âñàñûâàíèåì ñëèòêîâ, âòóëîê, ðàñïëàâ çàñàñûâàþò â òîíêîñòåííûé ìåòàëëè÷åñêèé âîäîîõëàæäàåìûé êàòàëèçàòîð, áëàãîäàðÿ ÷åìó îòëèâêà îòëèâêà çàòâåðäåâàåò ñ âûñîêîé ñêîðîñòüþ. Òàêèì ñïîñîáîì ìîæíî ïîëó÷àòü òîíêîñòåííûå îòëèâêè òèïà âòóëîê áåç ñòåðæíåé.  ýòîì ñëó÷àå ïîñëå âñàñûâàíèÿ ðàñïëàâà â êðèñòàëëèçàòîð è íàìîðàæèâàíèÿ íà âíóòðåííèõ ñòåíêàõ êðèñòàëèçàòîðà êîðî÷êè òâåðäîãî ìåòàëëà çàäàííîé òîëùèíû âàêóóì îòêëþ÷àåòñÿ è íåçàòâåðäåâøèé ðàñïëàâ ñëèâàåòñÿ îáðàòíî â òèãåëü. Òàêèì îáðàçîì ïîëó÷àþò ïëîòíûå çàãîòîâêè âòóëîê áåç ãàçîâûõ è óñàäî÷íûõ ðàêîâèí è ïîðèñòîñòè. Ñïîñîá ïîçâîëÿåò ïîëó÷àòü îòëèâêè èç ëåãêèõ öâåòíûõ è ìåäíûõ ñïëàâîâ, ÷óãóíà è ñòàëè. Íàèáîëåå ÷àñòî ýòîò ñïîñîá èñïîëçóåòñÿäëÿ ëèòüÿ çàãîòîâîê âòóëîê, âêëàäûøåé, ïîäøèïíèêîâ ñêîëüæåíèÿ èç äîðîãîñòîÿùèõ ìåäíûõ ñòàëåé. Ïðè ýòîì íàèáîëåå ÿðêî ïðîÿâëÿþòñÿ îñíîâíûå ïðåèìóùåñòâà äàííîãî ñïîñîáà: ñïîêîéíîå çàïîëíåíèå ôîðìû ðàñïëàâèì ñ ðåãóëèðóåìîé ñêîðîñòüþ, ñîêðàùåíèå ðàñõîäà ìåòàëëà â ñëåäñòâèè óñòðàíåíèÿ ëèòíèêîâ è ïðèáûëåé, àâòîìàòèçàöèÿ ïðîöåññà çàïîëíåíèÿ ôîðìû. Поделитесь этой записью или добавьте в закладки |
Полезные публикации |
Главная