ОгнетушителиОсновные типы огнетушителей Назначение и классификация огнетушителей Огнетушители - технические устройства, предназначенные для тушения пожаров в начальной стадии их возникновения. Огнетушители классифицируются по виду используемого огнетушащего вещества, объему корпуса и способу подачи огнетушащего состава. По виду огнетушащего вещества: - пенные; - газовые; порошковые, комбинированные. По объему корпуса:
По способу подачи огнетушащего состава:
По виду пусковых устройств:
Этой классификацией не исчерпываются все показатели многочисленной группы огнетушителей. Постоянное совершенствование конструкции, повышение таких показателей как надежность, технологичность, унификация и др. ведет к созданию новых, более совершенных огнетушителей. Огнетушители маркируются буквами, характеризующими вид огнетушителя, и цифрами, обозначающими его вместимость. 3.2 Огнетушители пенные Предназначены для тушения пожаров огнетушащими пенами: химической (огнетушители ОХП) иди воздушно-механической (огнетушитель ОВП). Химическую пену получают из водных растворов кислот и щелочей, воздушно-механическую образуют из водных растворов и пенообразователей потоками рабочего газа: воздуха, азота иди углекислого газа. Химическая пена состоит из 80 % углекислого газа, 19,7 % воды и 0,3 % пенообразующего вещества, воздушно-механическая примерно из 90 % воздуха, 9,8 % воды и 0,2 % пенообразователя. Пенные огнетушители применяют для тушения пеной начинающихся загораний почти всех твердых веществ, а также горючих и некоторых легковоспламеняющихся жидкостей на площади не более 1 м 2 . Тушить пеной загоревшиеся электрические установки и электросети, находящиеся под напряжением, нельзя, так как она является проводником электрического тока. Кроме того, пенные огнетушители нельзя применять при тушении щелочных металлов натрия и кадия, потому что они, взаимодействуя с водой, находящейся в пене, выделяют водород, который усиливает горение, а также при тушении спиртов, так как они поглощают воду, растворяясь в ней, и при попадании на них пена быстро разрушается. К недостаткам пенных огнетушителей относится узкий температурный диапазон применения (+5 °С - +45 °С), высокая коррозийная активность заряда, возможность повреждения объекта тушения, необходимость ежегодной перезарядки. Из химических пенных огнетушителей наибольшее применение получили огнетушители: ОХП-10, ОП-М и ОП-9ММ (густопенные химические), ОХВП-10 (воздушно-пенный химический). Химический пенный огнетушитель типа ОХП-10 (рисунок 1) представляет собой стальной сварной корпус с горловиной, закрытой крышкой с запорным устройством. Запорное устройство, имеющее шток, пружину и резиновый клапан, предназначено для того, чтобы закрывать вставленный внутрь огнетушителя полиэтиленовый стакан для кислотной части заряда огнетушителя. Кислотная часть является водной смесью серной кислоты с сернокислым окисным железом. Щелочная часть заряда (водный раствор двууглекислого натрия с солодковым экстрактом) залита в корпус огнетушителя. На горловине корпуса имеется насадка с отверстием (спрыск). Отверстие закрыто мембраной, которая предотвращает вытекание жидкости из огнетушителя. Мембрана разрывается (вскрывается) при давлении 0,08 - 0,14 МПа. Для приведения огнетушителя в действие поворачивают рукоятку запорного устройства на 180°, переворачивают огнетушитель вверх дном и направляют спрыск в очаг загорания. При повороте рукоятки клапан закрывающий горловину кислотного стакана поднимается, кислотный раствор свободно выливается из стакана, смешивается с раствором щелочной части заряда. Образовавшийся в результате реакции углекислый газ интенсивно перемешивает жидкость, обволакивается пленкой из водного раствора, образуя пузырьки пены. Образование пены идет по следующим реакциям: H 2 SO 4 + 2NaHCO 3 → Na 2 SO 4 + 2H 2 O + 2CO 2 Fe(SO 4 ) 3 + 6H 2 O → 2Fe(OH) 3 + 3H 2 SO 4 3H 2 SO 4 + 6NaHCO 3 → 3Na 2 SO 4 + 6H 2 O + 6CO 2 Давление в корпусе огнетушителя резко повышается и пена выбрасывается через спрыск наружу. При тушении твердых материалов струю направляют непосредственно на горящий предмет под пламя, в места наиболее активного горения. Тушение горящих жидкостей, разлитых на открытой поверхности, начинают с краев, постепенно покрывая пеной всю горящую поверхность, во избежании разбрызгивания. Огнетушитель химический воздушно-пенный ОХВП-10 аналогичен по конструкции, но дополнительно имеет специальную пенную насадку, навинчиваемую на спрыск огнетушителя и обеспечивающую подсасывание воздуха. За счет этого при истечении химической пены образуется и воздушно-механическая пена. Кроме того, в этом огнетушителе щелочная часть заряда обогащена небольшой добавкой пенообразователя типа ПО-1.
1- корпус; 2- стакан с кислотной частью заряда; 3-ручка; 4- рукоятка; 5- шток; 6- крышка; 7- спрыск; 8- клапан. Рисунок 1 — Химический пенный огнетушитель ОХП -10 Таблица 1 - Технические характеристики химических пенных огнетушителей
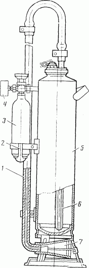
Воздушно-пенные огнетушители бывают ручные (ОВП-5 и ОВП-10) и стационарные (ОВП-100, ОВПУ-250). Воздушно-пенный огнетушитель ОВП-10 (рисунок 2) состоит из стального корпуса, в котором находится 4-6 % водный раствор пенообразователя ПО-1, баллончика высокого давления с углекислотой, для выталкивания заряда, крышки с запорно-пусковым устройством, сифонной трубки и раструба-насадки для получения высокократной воздушно-механической пены. Огнетушитель приводится в действие нажатием руки на пусковой рычаг, в результате чего разрывается пломба и шток прокалывает мембрану баллона с углекислотой. Последняя, выходя из баллона через дозирующее отверстие, создает давление в корпусе огнетушителя, под действием которого раствор по сифонной трубке поступает через распылитель в раструб, где в результате перемешивания водного раствора пенообразователя с воздухом образуется воздушно-механическая пена. Кратность получаемой пены (отношение ее объема к объему продуктов, из которых она получена составляет в среднем 5, а стойкость (время с момента ее образования до полного распада) -20 минут. Стойкость химической пены 40 минут.
1 - корпус; 2 - сифонная трубка; 3 - баллон; 4 - рукоятка; 5 - распылитель; 6 - раструб с сеткой. Рисунок 2 - Воздушно-пенный огнетушитель ОВП-10 Таблица 2 - Основные технические данные воздушно-пенных огнетушителей
3.3 Огнетушители газовые К их числу относятся углекислотные, в которых в качестве огнетушащего вещества применяют сжиженный диоксид углерода (углекислоту), а также аэрозольные и углекислотно-бромэтиловые, в качестве заряда в которых применяют галоидированные углеводороды, при подаче которых в зону горения тушение наступает при относительно высокой концентрации кислорода (14-18 %). Углекислотные огнетушители выпускаются как ручные (ОУ-2, ОУ-5, ОУ-8), так и передвижные (ОУ-25, ОУ-80). Ручные огнетушители (рисунок 3) одинаковы по устройству и состоят из стального высокопрочного баллона, в горловину которого ввернуто запорно-пусковое устройство вентильного или пистолетного типа, сифонной трубки, которая служит для подачи углекислоты из баллона к запорно-пусковому устройству, и раструба-снегообразователя. В огнетушителе ОУ-8 раструб присоединяется к запорной головке через бронированный шланг длиной 0,8 м. Баллоны огнетушителей заполнены жидкой углекислотой под давлением 6-7 МПа. Для приведения в действие углекислотного огнетушителя необходимо направить раструб-снегообразователъ на очаг пожара и отвернуть до отказа маховичок или нажать на рычаг запорно-пускового устройства. Переход жидкой углекислоты в углекислый газ сопровождается резким охлаждением и часть ее превращается в “снег” в виде мельчайших кристаллических частиц (t сн = - 72 °С). Во избежании обморожения рук нельзя дотрагиваться до металлического раструба. При переходе углекислоты из жидкого состояния в газообразное происходит увеличение объема в 400-500 раз.
1- баллон; 2- предохранитель; 3- маховичок вентиля-запора; 4- металлическая пломба; 5- вентиль; 6- поворотный механизм с раструбом; 7- сифонная трубка. Рисунок 3 - Углекислотный огнетушитель ОУ - 5 Углекислотные огнетушители (ОУ-2, ОУ-5, ОУ-8) предназначены для тушения загораний различных веществ и материалов, за исключением веществ, которые могут гореть без доступа воздуха, загораний на электрофицированном железнодорожном и городском транспорте, электроустановок под напряжением до 380 В. Температурный режим хранения и применения углекислотных огнетушителей от минус 40 °С до плюс 50 °С. Углекислотно-бромэтиловые огнетушители ОУБ-3А и ОУБ-7А представляют собой стальные тонкостенные баллоны (толщина стенки 1,5-2 мм) сварной конструкции. В горловину баллона ввернута запорная головка рычажного типа с распыляющей насадкой и сифонной трубкой. Емкость баллонов соответственно 3,2 и 7,4 л. Огнетушащим зарядом является состав 4НД (97 % бромэтила и 3 % углекислого газа). Огнегасительное действие бромистого этила основано на торможении химических реакций горения, поэтому его часто называют антикатализатором или ингибитором. Для выброса заряда в огнетушитель закачивают воздух под давлением 0,9 МПа. Время действия огнетушителей 20-30 с при длине струи 3-4 м. Огнетушители этого типа предназначены для тушения небольших загораний различных горючих веществ, тлеющих материалов, а также электроустановок, находящихся под напряжением до 380 В. Их используют в складских помещениях, на грузовых и специализированных автомобилях, на бензораздаточных колонках и т.д. Огнетушители могут быть применены при температуре окружающего воздуха от минус 60 °С до плюс 60 °С. Огнегасительный эффект этих огнетушителей в 14 раз выше, чем углекислотных. Огнетушители аэрозольные (хладоновые) используют в тех же случаях, что и угдекислотно-бромэтиловые. Огнетушащий состав хладон (фреон), 114В2, 13В1 в процессе пожаротушения не оказывает воздействия на защищаемые материалы и оборудование, что позволяет использовать данные огнетушители при тушении пожаров электронного оборудования, картин и музейных экспонатов. Наша промышленность выпускает огнетушители марок ОАХ, ОХ-3 и др. 3.4 Огнетушители порошковые Для тушения небольших очагов загораний горючих жидкостей, газов, электроустановок напряжением до 1000 В, металлов и их сплавов используются порошковые огнетушители ОП-1, ОП-25, ОП-10. Порошковый огнетушитель ОП-1 “Спутник” емкостью 1 л используется при тушении небольших загораний на автомобилях и сельскохозяйственных машинах. Состоит из корпуса, сетки и крышки, изготовленных из полиэтилена. Заполнен составом ПСБ (порошок сухой бикарбонатный), состоящий из 88 % бикарбоната натрия с добавлением 10 % талька марки ТКВ, стеаратов металлов (железа, алюминия, магния кальция, цинка) – 9 %. Во время пользования снимают крышку огнетушителя и через сетку порошок ПСБ вручную распыливают на очаг горения. Образующееся устойчивое порошковое облако изолирует кислород воздуха и ингибирует горение. Порошковый огнетушитель ОП-10 (рисунок 4) содержит в тонкостенном десятилитровом баллоне порошок ПС-1 (углекислый натрий с добавками). Подается с помощью сжатого газа (азот, диоксид углерода, воздух), хранящегося в дополнительном баллончике емкостью 0,7 л под давлением 15 МПа. Применяется для тушения загораний щелочных металлов (лития, кадия, натрия) и магниевых сплавов. В других огнетушителях этого типа используются порошковые составы: ПСБ (бикарбонат натрия с добавками), ПФ (фосфорно-аммонийные соли с добавками), предназначенные для тушения древесины, горючих жидкостей и электрооборудования, СИ-2 (сидикагель с наполнителем) - для тушения нефтепродуктов и пирофорных соединений. Огнетушитель самосрабатывающий порошковый (ОСП) - это новое поколение средств пожаротушения. Он позволяет с высокой эффективностью тушить очаги загорания без участия человека. Огнетушитель представляет собой герметичный стеклянный сосуд диаметром 50 мм и длиной 440 мм, заполненный огнетушащим порошком массой 1 кг. Устанавливается над местом возможного загорания с помощью металлического держателя (рисунок 5). Срабатывает при нагреве до 100 °С (ОСП-1) и до 200 °С (ОСП-2). Защищаемый объем до 9 м 3 . Огнетушители ОСП предназначены для тушения очагов пожаров твердых материалов органического происхождения, горючих жидкостей или плавящихся твердых тел, электроустановок, находящихся под напряжением до 1000 В. Достоинства ОСП: тушение пожара без участия человека, простота монтажа, отсутствие затрат при эксплуатации, экологически чист, нетоксичен, при срабатывании не портит защищаемое оборудование, может устанавливаться в закрытых объемах с температурным режимом от минус 50 °С до плюс 50 °С. Генераторы объемного аэрозольного тушения пожаров (СОТ) - являются наиболее современными средствами пожаротушения.
1- удлинитель; 2- кронштейн; 3-баллон с рабочим газом; 4- манометр; 5- корпус; 6- сифонная трубка; 7- насадок. Рисунок 4 - Огнетушитель порошковый ОП -10 Они предназначены для тушения пожаров ЛВЖ и ГЖ (бензин и другие нефтепродукты, органические растворители и т.п.) и твердых материалов (древесина, изоляционные материалы, пластмассы и др.), а также электрооборудования (силовые и высоковольтные установки, бытовая и промышленная электроника и т.п.) СОТ непригодны для тушения щелочных и щелочноземельных металлов, а также веществ, горение которых происходит без доступа воздуха. В генераторах СОТ огнетушащим средством является твердый аэрозоль окислов щелочных и щелочноземельных металлов переходной группы, образующийся при сгорании зарядов и способный находиться в замкнутом объеме во взвешенном состоянии в течение длительного (до 40-50 минут) времени. Выделяющаяся при горении заряда генератора аэрозольно-газовая смесь не портит защищаемое имущество и даже бумагу, а сами частицы аэрозоля можно убрать пылесосом или смыть водой. Генераторы СОТ делятся на ручные (СОТ-5М) н стационарные (СОТ-1). Защищаемый объем генератором СОТ-5М до 40 м 3 генератором СОТ-1 до 60 м 3 . Для приведения в действие генератора СОТ-5М (рисунок 6) необходимо снять колпачок с узла запуска, резко дернуть за шнур и бросить в горящее помещение. Для запуска генератора Сот-1 (рисунок 7) используются специальные узлы запуска термохимические иди электрические. Применение термохимических узлов запуска, срабатывающих при достижении в защищаемом объеме температура 90 °С, позволяет каждому генератору, если их установлено несколько, работать полностью автономно. Генераторы, оснащенные термохимическими узлами запуска, устанавливаются под потолком помещения, в зоне наиболее вероятного загорания. Применение электрических узлов запуска позволяет использовать генераторы СОТ-1 на объектах, имеющих пожарную сигнализацию. Установка генератора СОТ-1 в защищаемом помещении производится с помощью специального кронштейна. Рабочее положение генератора горизонтальное или вертикальное инжектором вниз. Размещение генераторов с электрическим узлом запуска производится произвольно. Генераторы СОТ-1 работают в интервале температур от минус 55 °С до плюс 55 °С и влажности до 100 %. При возникновении пожара и срабатывании генераторов, лица, находящиеся в этот момент в защищаемом помещении должны быстро покинуть его, плотно закрыв за собой двери и не предпринимать никаких действий по тушению пожара, кроме вызова пожарной охраны. Генераторами СОТ рекомендуется оборудовать следующие объекты: промышленные предприятия, силовые энергетические установки, коммунально-бытовые предприятия, общественные здания, учебные заведения, научно-исследовательские институты и учреждения, банки и офисы, торговые базы и склады, зрелищные предприятия, административные и жилые здания, транспортные средства. Поделитесь этой записью или добавьте в закладки |
Полезные публикации |
Главная